Operation CHARM: Car repair manuals for everyone.
Manuals through 2025 now available!

Our trusted friends have launched a new website named LEMON, which has newer manuals. It also contains all the CHARM manuals.

LEMON is the spiritual successor to CHARM, I recommend you try it!

Link: lemon-manuals.la or lemon-manuals.org.ua

(Some people have issue connecting. LEMON is investigating. For now, use Firefox or change your DNS server)

Or, hide this message: temporarily or permanently

Evaporative Emissions System: Diagrams






THE EVAPORATIVE SYSTEM

ZONE 1




- 1 Fuel Cap
- 2 Recirculation Check Valve
- 3 Vapor Recirculation Line
- 4 Signal Vapor Line for FVM
- 5 Flow Management Valve
- 6 Fuel Tank to Canister Vapor Line
- 7 Fuel Tank Vent (Check Valve)
- 8 Vapor Line to Canister
- 9 Flow Control Orifice
- 10 Control Valve
- 11 Liquid Trap
- 12 Fuel Tank
- 13 Check Valve
- 14 Fuel Fill Tube to Tank connector
- 15 Fuel Fill Tube

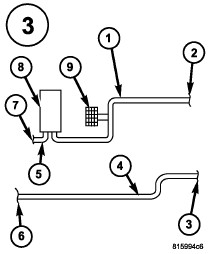
ZONE 2




- 1 Filter
- 2 ESIM Switch
- 3 Canister Vent Line
- 4 Evap Canister
- 5 Chassis Purge Valve
- 6 Fuel Tank to Canister Vapor Line connection
- 7 Evap Purge connection

ZONE 3




- 1 Evap Purge Vacuum Line
- 2 Connection to Chassis Line
- 3 Connection to Canister
- 4 Chassis Purge Line
- 5 Evap Purge Vacuum Line
- 6 Connection to Evap Purge Harness
- 7 Chassis Evap Purge Line connection to Engine Vacuum
- 8 Evap Purge Valve
- 9 Service Port