Operation CHARM: Car repair manuals for everyone.
Manuals through 2025 now available!

Our trusted friends have launched a new website named LEMON, which has newer manuals. It also contains all the CHARM manuals.

LEMON is the spiritual successor to CHARM, I recommend you try it!

Link: lemon-manuals.la or lemon-manuals.org.ua

(Some people have issue connecting. LEMON is investigating. For now, use Firefox or change your DNS server)

Or, hide this message: temporarily or permanently

Transmission Control Module (TCM)






P0562-BATTERY VOLTAGE LOW





For a complete wiring diagram, refer to the Wiring Information.

Theory of Operation

The transmission Control Module monitors ignition voltage. If the Monitored voltage drops below a predetermined voltage, this DTC will set.

- When Monitored:
Ignition on, engine rpm above 450.

Secondary pressure (monitored current) greater than 0.3MPa.

No active Implausible Engine Speed Signal DTCs present.

- Set Condition:
The Transmission Control Module detects the system voltage below 9.0 volts for the period greater than 5.0 seconds. It takes two consecutive one trip faults for the DTC to mature and illuminate the MIL.





Always perform the CVT Pre-Diagnostic Troubleshooting procedure before proceeding. Initial Inspection and Diagnostic Overview

1. CHECK FOR RELATED CHARGING SYSTEM DTCs
1. With the scan tool, read the Engine DTCs.

Are there any Charging System related DTCs present?

Yes

- Refer to DTC Based Diagnostics and perform the appropriate diagnostic procedure. After repairing the Charging System DTCs, perform the Transmission Verification test to verify the transmission and or controller was not damaged.
- Perform CVT TRANSMISSION VERIFICATION TEST. CVT Transmission Verification Test

No

- Go To 2

2. CHECK FOR TIPM DTCs

NOTE: Generator, battery, and charging system must be fully functional before performing this test.

1. With the scan tool, read TIPM DTCs.

Are there any TIPM TCM Power Control Circuit DTCs present also?

Yes

- Refer to DTC Based Diagnostics and perform the appropriate diagnostic procedure.

No

- Go To 3

3. CONDITION P0562 PRESENT
1. With the scan tool, read Transmission DTCs.

Is the status active for this DTC?

Yes

- Go To 4

No

- Go To 6

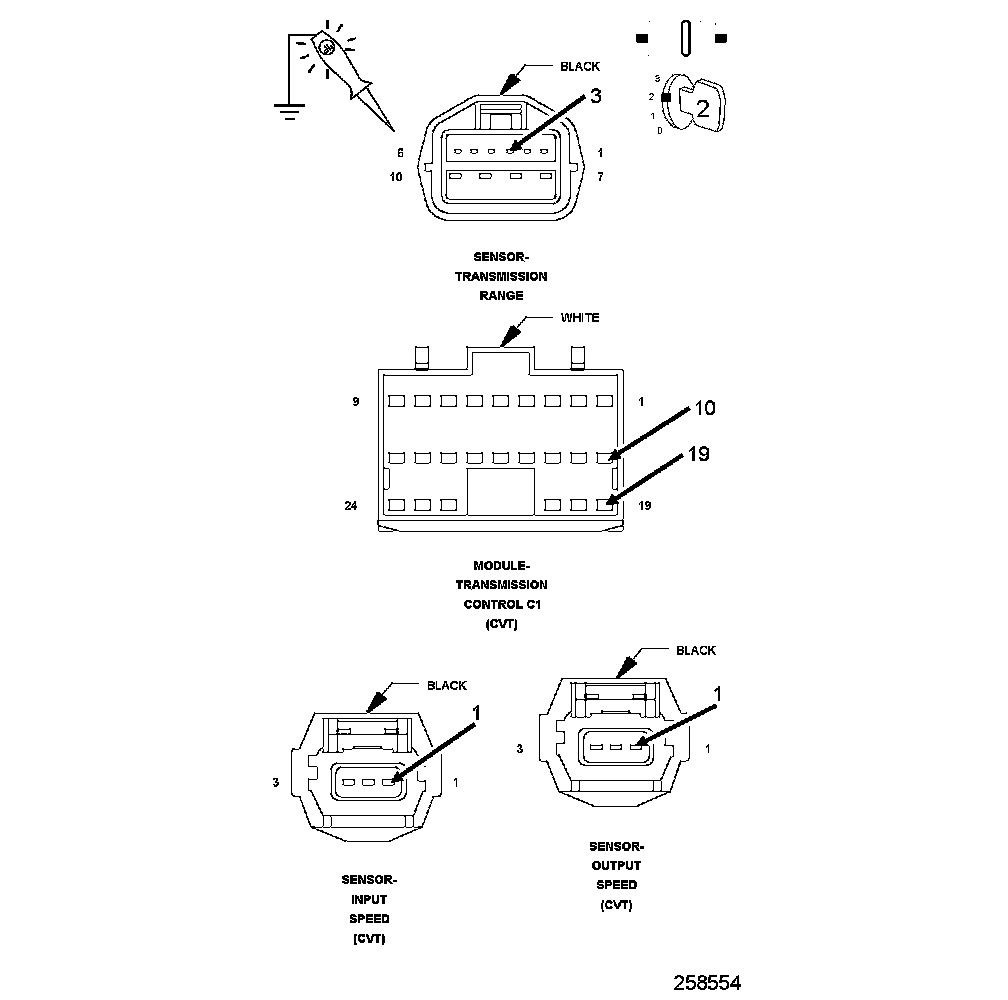
4. CHECK THE (Z967) GROUND CIRCUITS FOR AN OPEN




1. Turn the ignition off to the lock position.
2. Disconnect the TCM C2 harness connector.

NOTE: Check connectors - Clean/repair as necessary.

3. Using a 12-volt test light connected to 12-volts, check the (Z967) Ground circuits in the TCM C2 harness connector.

NOTE: The test light must illuminate brightly. Compare the brightness to that of a direct connection to the battery.

Does the test light illuminate brightly for all the (Z967) Ground circuits?

Yes

- Go To 5

No

- Repair the (Z967) Ground circuit for an open circuit or high resistance.
- Perform CVT TRANSMISSION VERIFICATION TEST. CVT Transmission Verification Test

5. CHECK THE (T16) TRANSMISSION CONTROL OUTPUT CIRCUIT FOR AN OPEN




1. Turn the ignition off to the lock position.
2. Disconnect the TCM C1 and C2 harness connectors.
3. Disconnect the Transmission Range Sensor (TRS) harness connector.
4. Disconnect the Input and Output Speed Sensor harness connectors.
5. Ignition on, engine not running.
6. With the scan tool under TIPM, actuate the Transmission.
7. Using a 12-volt test light connected to ground, check all (T16) Transmission Control Output circuits.

NOTE: The (T16) Transmission Control Output circuit branches off to the TRS, TCM and the Input and Output Speed Sensors.

Does the test light illuminate brightly while cycling on and off on all the (T16) Transmission Control Output circuits?

Yes

- Using the schematics as a guide, check the Transmission Control Module (TCM) terminals for corrosion, damage, or terminal push out. Pay particular attention to all power and ground circuits. If no problems are found, replace and program the TCM.
- Perform CVT TRANSMISSION VERIFICATION TEST. CVT Transmission Verification Test

No

- Repair the (T16) Transmission Control Relay Output circuit(s) for an open or high resistance.
- Perform CVT TRANSMISSION VERIFICATION TEST. CVT Transmission Verification Test

6. CHECK THE WIRING AND CONNECTORS
1. The conditions necessary to set this DTC are not present at this time.
2. Using the schematics as a guide, inspect the wiring and connectors specific to this circuit.
3. Wiggle the wires while checking for shorted and open circuits.

Were there any problems found?

Yes

- Repair as necessary.
- Perform CVT TRANSMISSION VERIFICATION TEST. CVT Transmission Verification Test

No

- Test Complete.