Operation CHARM: Car repair manuals for everyone.
Manuals through 2025 now available!

Our trusted friends have launched a new website named LEMON, which has newer manuals. It also contains all the CHARM manuals.

LEMON is the spiritual successor to CHARM, I recommend you try it!

Link: lemon-manuals.la or lemon-manuals.org.ua

(Some people have issue connecting. LEMON is investigating. For now, use Firefox or change your DNS server)

Or, hide this message: temporarily or permanently

Fuel Line Coupler: Service and Repair






STANDARD PROCEDURE - QUICK-CONNECT FITTINGS

Different types of quick-connect fittings are used to attach the various fuel system components, lines and tubes. Some quick-connect fittings require the use of a special tool for disconnection and removal.

These are the quick-connect fittings:

- Redundant Latch Single Button Type Fitting
- Single Button Type Fitting
- Pinch Type Fitting
- Single Tab Type Fitting
- Two Tab Type Fitting
- Plastic Retainer Ring Type Fitting
- Latch Clip Type 1 Fitting
- Latch Clip Type 2 Fitting
- Wing Type Fitting

DISCONNECTING

WARNING: The fuel system is under a constant pressure (even with engine off). Before servicing any fuel system hose, fitting or line, fuel system pressure must be released. Service and Repair

CAUTION: Before separating a Quick-Connect fitting, pay attention to what type of fitting is being used Service and Repair . This will prevent unnecessary fitting or fitting latch breakage.

CAUTION: The interior components (O-rings, clips) of quick-connect fittings are not serviced separately, but new plastic spacers and latches are available for some types. If service parts are not available, do not attempt to repair the damaged fitting or fuel line (tube). If repair is necessary, replace the complete fuel line (tube) assembly.

Redundant Latch Single Button Type Fitting:





This type of quick-connect fitting is equipped with a redundant latch (2) and a single push button (1) that releases two internal latches located in the quick-connect fitting. Special tools are not required for removal.





CAUTION: Do not pry or pull up on the push button as damage to the latches of the quick-connect fitting will occur.

1. Pull the redundant latch (2) out away from the quick-connect fitting.
2. Press on the push button with your thumb, release the internal latches (1) and remove the quick-connect fitting from the fuel system component.

Single Button Type Fitting:





CAUTION: Do not pry or pull up on the push button as damage to the latches of the quick-connect fitting will occur.

This type of quick-connect fitting is equipped with a single push button (2) that releases two internal latches located in the quick-connect fitting. Special tools are not required for removal.





1. Press on the push button with your thumb, release the internal latches (1).
2. Remove the quick-connect fitting from the fuel system component.

2 Button Type Fitting





This type of quick-connect fitting (1) is equipped with two push buttons (2) that releases two internal latches located in the quick-connect fitting. Special tools are not required for removal.

1. Press on both push buttons with your thumb, release the internal latches.
2. While holding the two push buttons simultaneously, remove the quick-connect fitting from the fuel system component.

Pinch Type Fitting




This type of quick-connect fitting (1) is equipped with two finger tabs (2). Special tools are not required for removal.
1. Pinch both tabs (2) together and release the quick-connect fitting.
2. Remove the quick-connect fitting from the fuel system component.

Single Tab Type Fitting





This type of quick-connect fitting (3) is equipped with a single pull tab (1). The tab is removable. After tab is removed the quick-connect fitting can be separated from the fuel system component. Special tools are not required for removal.





1. Press release tab on side of fitting to release pull tab (1). If release tab is not pressed prior to releasing pull tab, pull tab will be damaged.
2. While pressing the release tab on the side of the quick-connect fitting use a screwdriver (2) to pry up the pull tab.
3. Raise the pull tab until it separates from the quick-connect fitting.
4. Remove the quick-connect fitting from the fuel system component.

Two Tab Type Fitting





This type of quick-connect fitting (2) is equipped with tabs located on both sides of the fitting (1). These tabs are integral to the fuel system component. The plastic tabs will remain on the component being serviced after the quick-connect fitting is removed. The O-ring and spacer will remain in the quick-connect fitting. Special tools are not required for removal.

1. Squeeze the plastic tabs (1) against the sides of component being serviced with your fingers.
2. Remove the quick-connect fitting from the fuel system component.

Plastic Retainer Ring Type Fitting





This type of fitting can be identified by the use of a round plastic retainer ring (4) usually black in color. Special tools are not required for removal.

NOTE: The round plastic retainer ring must be pressed squarely into the quick-connect fitting body. If this retainer is cocked during removal it will be difficult to disconnect the quick-connect fitting. Use an open-end wrench on the shoulder of the plastic retainer ring to aid in disconnection.

1. Firmly push the quick-connect fitting (5) towards the component being serviced while firmly pushing the round plastic retainer ring into the quick-connect fitting (6). With the round plastic ring depressed, remove the quick-connect fitting from the fuel system component.
2. After removal the plastic retainer ring will remain with the quick-connect fitting.

Latch Clip Type 1 Fitting





Depending on vehicle model and engine, 2 different types of safety latch clips are used. One is tethered (1) to fuel line and the other is not. A special tool will be necessary to disconnect the fuel line after latch clip is removed. The latch clip may be used on certain fuel line and fuel rail connections or to join fuel lines together.

1. Pry up on the latch clip (4) with a screwdriver (3).
2. Slide the latch clip away from the quick-connect fitting while lifting the screwdriver and position aside.





3. Insert the commercially available fuel line removal tool (1) into the quick-connect fitting and release the internal latches.

NOTE: After removal the internal latches will remain in the quick-connect fitting.

4. With the commercially available fuel line removal tool (1) still inserted, remove the quick-connect fitting from the fuel system component.

Latch Clip Type 2 Fitting





Depending on vehicle model and engine, 2 different types of safety latch clips are used. One is tethered to the fuel line and the other is not. A special tool will be necessary to disconnect the fuel line after the latch clip is removed. The latch clip may be used on certain fuel line and fuel rail connections or to join fuel lines together.

1. Unlatch the small arms on the end of clip, swing away and separate from the fuel system component.
2. Slide the latch clip away from the quick-connect fitting while lifting with a screwdriver and position aside.





3. Insert the commercially available fuel line removal tool (1) into the quick-connect fitting and release the internal latches.

NOTE: After removal the internal latches will remain in the quick-connect fitting.

4. With the commercially available fuel line removal tool (1) inserted, remove the quick-connect fitting from the fuel system component.

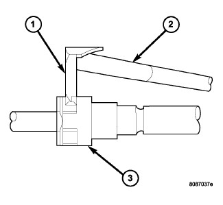
Wing Type Fitting





The wing type fitting is used on fuel system and emission components. The wing type fitting is most commonly used on the EVAP canister (3). Special tools are not required for removal.

1. Using two fingers, press both wings (2) and release the locking tabs.

NOTE: After removal the locking tabs will remain with the quick-connect fitting.

2. While holding the wings, remove the quick-connect fitting from the fuel system component.

CONNECTING

1. Inspect the quick-connect fitting body and fuel system components for damage. Replace as necessary.
2. Prior to connecting any quick-connect fitting to components, check condition of fitting and components. Clean parts with a lint-free cloth. Lubricate with clean engine oil.
3. Insert the quick-connect fitting onto the fuel tube or fuel system component until the built-in stop on the fuel tube or component rests against the back of fitting.
4. Continue pushing until a click is felt.
5. If Equipped:
- Redundant Latch Single Button Type Fitting: Push redundant latch until it locks into position in the quick-connect fitting.
- Single Tab Type Fitting: Push new tab down until it locks into position in the quick-connect fitting.
- Latch Clip Type Fitting: Install latch clip (snaps into position). If latch clip will not snap into position, this indicates the quick-connect fitting is not properly installed onto fuel system component, recheck the connection.

6. Verify a locked condition by firmly pulling on the quick-connect fitting connection of the fuel system component.