Operation CHARM: Car repair manuals for everyone.
Manuals through 2025 now available!

Our trusted friends have launched a new website named LEMON, which has newer manuals. It also contains all the CHARM manuals.

LEMON is the spiritual successor to CHARM, I recommend you try it!

Link: lemon-manuals.la or lemon-manuals.org.ua

(Some people have issue connecting. LEMON is investigating. For now, use Firefox or change your DNS server)

Or, hide this message: temporarily or permanently

Supplemental Restraint System Wiring Repairs





SUPPLEMENTAL RESTRAINT SYSTEM WIRING REPAIRS

Special Tools:






It is important when repairing any Supplemental Restraint System (SRS) electrical circuits to use the recommended splicing kit and procedure. For applicable and available MOPAR wiring repair kits, please visit the MOPAR Connector Web Site at the following address on the internet: (http://dto.vftis.com/mopar/disclaimer.asp).

This recommended procedure involves crimping the wires together with a splice band, soldering the crimped connection and, finally, sealing and protecting the repair. The crimp and solder ensure a strong mechanical bond that will always pass a pull test while also maintaining the conductivity and current carrying capacity of the circuit. The adhesive sealant and heat shrink tubing ensures the splice repair will perform as well or better than the original wire and be safe from potential corrosion or short circuits.

There is no limit to the number of splice repairs that can be made in one harness using this procedure. However, as has been past practice, multiple adjacent splices should be offset from each other. This wiring splice repair procedure is approved for harness side repairs only. Repairs and splices to pigtail wires on SRS components such as airbag units, seat belt tensioner units or clocksprings are not approved or recommended.

REPAIR PROCEDURE

CAUTION: If additional wire is needed when making a splice repair to any wire, it is important that the same or next larger size wire gauge be used. Refer to the appropriate wiring diagram for the original wire gauge size.





1. Remove 13 millimeters (0.50 inch) of insulation from each wire that needs to be spliced.
2. Place a piece of adhesive sealant-lined heat shrink tubing (Part Number 04778570 or equivalent) over the wire on one side of the splice. Be certain the length of tubing will be sufficient to cover and seal the entire repair area.
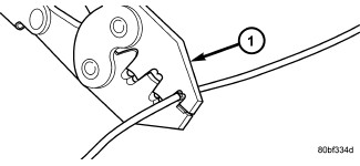
3. Place the strands of the wires being spliced so that they are overlapping each other within the splice band (1).





4. Using a crimping tool (1) (MOPAR Part Number 05019912AA, Miller Special Tool Number 10042 or equivalent) crimp the splice band and wires together securely.






CAUTION: Never use acid core solder for electrical wiring repairs.

5. Using rosin core type solder (1) only and a suitable soldering iron (3), solder the wire and splice band connection (2) together.





6. Center the heat shrink tubing (2) over the splice joint repair and heat using a suitable heat gun. Heat the joint until the tubing is tightly sealed and sealant (1) begins to ooze out of both ends of the tubing.