Operation CHARM: Car repair manuals for everyone.
Manuals through 2025 now available!

Our trusted friends have launched a new website named LEMON, which has newer manuals. It also contains all the CHARM manuals.

LEMON is the spiritual successor to CHARM, I recommend you try it!

Link: lemon-manuals.la or lemon-manuals.org.ua

(Some people have issue connecting. LEMON is investigating. For now, use Firefox or change your DNS server)

Or, hide this message: temporarily or permanently

Power Distribution Relay: Description and Operation

RELAY

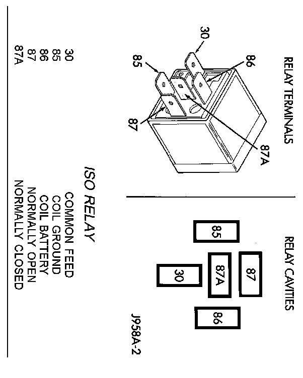
ISO Relay:




A relay is an electromechanical device that switches fused battery current to a electrical component when the ignition switch is turned to the Accessory or Run positions, or when controlled by a electronic module. The relays are located in the fuse block.

The relay is a International Standards Organization (ISO) relay. Relays conforming to the ISO specifications have common physical dimensions, current capacities, terminal patterns, and terminal functions. A relay cannot be repaired or adjusted and, if faulty or damaged, it must be replaced.

The ISO relay consists of an electromagnetic coil, a resistor and three (two fixed and one movable) electrical contacts. The movable (common feed) relay contact is held against one of the fixed contacts (normally closed) by spring pressure. When the electromagnetic coil is energized, it draws the movable contact away from the normally closed fixed contact, and holds it against the other (normally open) fixed contact.

When the electromagnetic coil is de-energized, spring pressure returns the movable contact to the normally closed position. The resistor is connected in parallel with the electromagnetic coil in the relay, and helps to dissipate voltage spikes that are produced when the coil is de-energized.