Operation CHARM: Car repair manuals for everyone.
Manuals through 2025 now available!

Our trusted friends have launched a new website named LEMON, which has newer manuals. It also contains all the CHARM manuals.

LEMON is the spiritual successor to CHARM, I recommend you try it!

Link: lemon-manuals.la or lemon-manuals.org.ua

(Some people have issue connecting. LEMON is investigating. For now, use Firefox or change your DNS server)

Or, hide this message: temporarily or permanently

Differential Assembly: Adjustments






ADJUSTMENTS

PINION DEPTH MEASUREMENT










Measurements are taken with pinion cups and pinion bearings installed in the housing. Take measurements with a Pinion Gauge Set (2, 3, 4, and 5), Pinion Height Block 10096 (6), Arbor Discs 10094-2 (8), and Dial Indicator 9524 (1).










1. Assemble Pinion Block 6739 (2), Pinion Height Block 10096 (1) and rear pinion bearing onto Screw 6741.
2. Insert assembled height gauge components, rear bearing and screw into the housing through pinion bearing cups.










3. Install front pinion bearing and Cone 6740 hand tight.
4. Place Arbor Disc 10094-2 (1) on Arbor D-115-3 (3) in position in the housing side bearing cradles. Install differential bearing caps on Arbor Discs and tighten cap bolts. Refer to the Torque Specifications.










5. Assemble Dial Indicator 9524 (3) into Scooter Block D-115-2A (2) and secure set screw.
6. Position Scooter Block/Dial Indicator flush on the pinion height block. Hold scooter block and zero the dial indicator.
7. Slowly slide the scooter block across the pinion height block over to the arbor. Move the scooter block till the dial indicator probe crests the arbor, then record the highest reading.
8. Select a shim equal to the dial indicator reading plus 3 mm (0.118 in.).
9. Remove the pinion depth gauge components from the housing.

DIFFERENTIAL BEARING PRELOAD SHIM SELECTION










1. Remove side bearings from differential case.
2. Install Dummy Bearings 10110 onto the differential case.
3. Install differential case into the housing.
4. Install bearing caps in their correct positions and snug the bolts.
5. Using a dead-blow hammer (1) to seat the differential dummy bearings to each side of the housing.










6. Thread Pilot Stud C-3288-B (3) into rear cover bolt hole below ring gear.
7. Attach Dial Indicator 9524 to the pilot stud and position indicator plunger on a flat surface of the ring gear bolt head.










8. Push differential case to the pinion gear side of the housing (1) and zero dial indicator.










9. Push differential case to the ring gear side (2) and record dial indicator reading.
10. Add 9.16 mm (0.361 in.) to the recorded dial indicator reading. This total is the shim thickness needed to preload the new bearings when the differential is installed.
11. Rotate dial indicator out of the way.
12. Remove differential case, dummy bearings and starting point shims from the housing.
13. Install pinion gear in the housing and establish pinion rotating torque.
14. Install differential case and dummy bearings in the housing and snug bearing cap bolts.
15. Position dial indicator plunger on a flat surface between the ring gear bolt heads.
16. Push and hold differential case toward pinion gear.
17. Zero dial indicator face to pointer.
18. Push and hold differential case to ring gear side of the housing and record dial indicator reading.
19. Add 4.5 mm (0.177 in.) to the dial indicator reading to give the total shim necessary for the ring gear sided of the differential to achieve zero backlash between the ring and pinion gears.
20. Subtract 0.05 mm (0.002 in.) from this value to create some backlash between ring and pinion gears. This total is the shim thickness needed to achieve proper backlash.
21. Subtract the backlash shim thickness from the total preload shim thickness determined earlier. The remainder is the shim thickness required on the pinion side of the housing.
22. Rotate dial indicator out of the way on pilot stud.
23. Remove differential case and dummy bearings from the housing.
24. Install new side bearing cones and cups on differential case.
25. Install spreader W-129-B and some components of Adapter Set 10113 on differential housing and spread axle opening enough to receive differential case.
26. Place side bearing shims into the housing against the differential bearing bore.
27. Install differential case in the housing.
28. Relieve the tension on the spreader and allow the differential housing to relax.
29. Rotate the differential case several times to seat the side bearings.










30. Position the indicator (1) plunger against a ring gear tooth.
31. Push and hold ring gear upward while not allowing the pinion gear to rotate.
32. Zero dial indicator face to pointer.





33. Push and hold ring gear downward while not allowing the pinion gear to rotate. Dial indicator reading should be between 0.10 - 0.15 mm (0.004 - 0.006 in.). If backlash is not within specifications transfer the necessary amount of shim thickness from one side of the differential housing to the other.
34. Verify differential case and ring gear runout by measuring ring to pinion gear backlash at eight locations around the ring gear. Readings should not vary more than 0.05 mm (0.002 in.). If readings vary more than specified, the ring gear or the differential case is defective.

After the proper backlash is achieved, perform the Gear Contact Pattern Analysis procedure.

GEAR CONTACT PATTERN




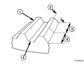
GEAR DESCRIPTION





The ring gear and pinion teeth contact patterns will show if the pinion depth is correct in the housing. It will also show if the ring gear backlash has been adjusted correctly. The backlash can be adjusted within specifications to achieve desired tooth contact patterns.

The TOP LAND of the gear tooth is the top surface of the tooth. The PROFILE of the gear tooth is the depth of the tooth. The TOE of the gear is the portion of the tooth surface at the end towards the center. The HEEL of the gear is the portion of the tooth at the outer-end. The ROOT of the gear tooth is the lowest portion of the tooth.





1. Apply a thin coat of hydrated ferric oxide or equivalent to the drive and coast side of the ring gear teeth.
2. Wrap, twist, and hold a shop towel around the pinion yoke to increase the turning resistance of the pinion. This will provide a more distinct contact pattern.
3. With a boxed end wrench on a ring gear bolt, rotate the differential case one complete revolution in both directions while a load is being applied from shop towel.

The areas on the ring gear teeth with the greatest degree of contact against the pinion teeth will squeeze the compound to the areas with the least amount of contact. Note and compare patterns on the ring gear teeth to Gear Tooth Contact Patterns charts and adjust pinion depth and gear backlash as necessary.