Operation CHARM: Car repair manuals for everyone.
Manuals through 2025 now available!

Our trusted friends have launched a new website named LEMON, which has newer manuals. It also contains all the CHARM manuals.

LEMON is the spiritual successor to CHARM, I recommend you try it!

Link: lemon-manuals.la or lemon-manuals.org.ua

(Some people have issue connecting. LEMON is investigating. For now, use Firefox or change your DNS server)

Or, hide this message: temporarily or permanently

Automatic Transmission/Transaxle: Testing and Inspection



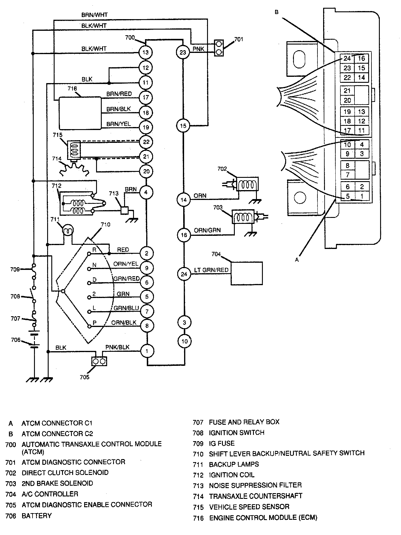
Gearshift Control System

Before performing the diagnosis procedures contained in this section, make certain that all connections within the gearshift control system are firmly coupled. Also, look for bad terminals or corrosion within each connector. Ensureing connector and wiring integrity drastically reduces the possibility of misdiagnosis.

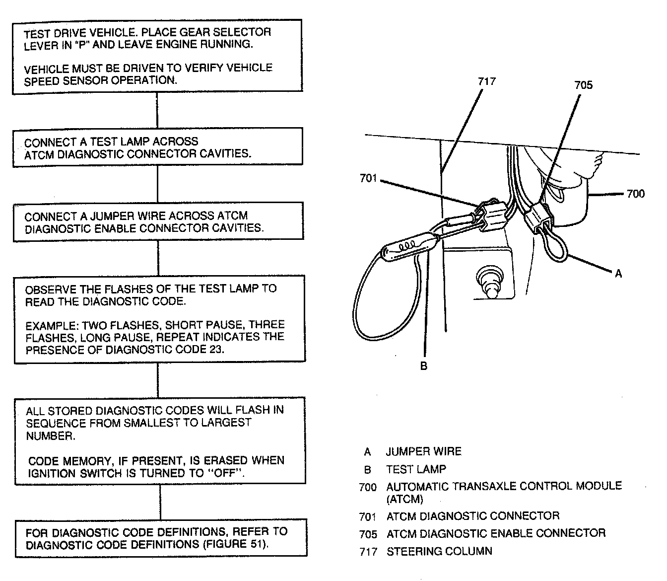
To determine if any diagnostic codes are stored in the memory of the Automatic Transaxle Control Module (ATCM), refer to the Reading Diagnostic Codes Chart. If no faults were discovered during code diagnostics (system flashed code 12), proceed to the General Gearshift Control System Diagnosis Charts.


Gearshift Control System Diagram:




Reading Diagnostic Codes Chart:




Diagnostic Code Definitions:




Chart 1 - General Gearshift Control System Diagnosis:




Chart 2 - General Gearshift Control System Diagnosis:




Chart 3 - General Gearshift Control System Diagnosis:




Chart 4 - General Gearshift Control System Diagnosis: