Operation CHARM: Car repair manuals for everyone.
Manuals through 2025 now available!

Our trusted friends have launched a new website named LEMON, which has newer manuals. It also contains all the CHARM manuals.

LEMON is the spiritual successor to CHARM, I recommend you try it!

Link: lemon-manuals.la or lemon-manuals.org.ua

(Some people have issue connecting. LEMON is investigating. For now, use Firefox or change your DNS server)

Or, hide this message: temporarily or permanently

Transfer Case Disassembly

REMOVE OR DISCONNECT
^ Tools Required:
- J 37637 Case Separator
- J 8433 Bearing Puller
- J 37756 Output Shaft Bearing Puller Adapter
- J 26941 Needle Bearing Puller
- J 23907 Slide Hammer
- J 34757 Output Shaft Ring Remover
- J 39497 Friction Ring Remover and Installer
- J 22912-01 Split Plate
- J 34844 Front Shaft Bearing Remover
- J 28406 Input Gear Bearing Remover





1. Four-wheel drive switch and steel ball from rear case.
2. Four-wheel drive low switch and steel ball from rear of case (if equipped).
- Use of a magnet will aid in the removal of steel ball from the rear case.
3. One bolt and speedometer driven gear case from rear case.





4. Five bolts and gearshift lever case from rear case.





5. Select return spring bolt, washer, select return spring, select return ball and select return pin from the rear case.

Important: Driving the reduction shift yoke roll pin down will cause the pin to fall down into the transfer case assembly. Use a magnet during removal or remove the reduction shift yoke roll pin after removing the rear case.





6. Reduction shift yoke roll pin from the reduction shift yoke using a standard drift punch and a hammer.
7. Slide the reduction shift yoke rearward and pull the reduction shift yoke off of reduction shift shaft and out of rear case.








8. Fifteen rear case bolts and separate the rear case from the center case using a J 37637.
9. Selective shim from top of rear output shaft rear bearing.





10. Speedometer drive gear C-clip and speedometer drive gear from the rear output shaft using a J 34757.





11. Rear output shaft rear bearing C-clip from the rear output shaft using the J 34757.





12. Rear output shaft rear bearing from the rear output shaft using a J 8433 with a J 37756.

Important: Use caution not to lose the rear output shaft washer ball underneath the drive sprocket bushing during drive sprocket bushing removal.





13. Drive sprocket bushing and drive sprocket needle bearing from the rear output shaft.





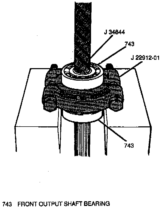
14. Drive sprocket, drive chain and rear output shaft washer ball from the rear output shaft and front output shaft.





15. Rear output shaft oil seal from the rear case using a J 26941 with a J 23907.





16. Rear output shaft needle bearing from the rear case using the J 26941 with the J 23907.





17. One bolt and countershaft case plate from front case.








18. Nine front case bolts and separate front case from center case.
19. Countershaft assembly from center case.

Important: Use caution not to lose the countershaft washer balls which come out from between the countershaft and countershaft washers (front and rear).





20. Countershaft washers and washer balls from countershaft.
21. Counter gear, countershaft needle bearings and countershaft spacer from countershaft.

Important: Neither the countershaft friction ring or O-ring should be removed unless absolutely necessary. If either is removed they must be replaced with new components.

Inspect
- Countershaft friction ring for excessive wear or damage. Replace as necessary.
- Countershaft O-ring for cuts or other damage. Replace as necessary.

22. Countershaft O-ring from countershaft.





23. Countershaft friction ring from countershaft using J 39497 and a press arbor.





24. Two rubber plugs, two locating screws, two washers, two locating springs and two locating balls from center case.

Important: Make note of the alignment marks on the reduction clutch sleeve and hub and the front drive clutch sleeve and hub in order to ensure correct alignment during assembly. If no alignment marks exist, scribe new marks in both the reduction clutch sleeve and hub and the front drive clutch sleeve and hub.





25. Reduction shift shaft, reduction shift fork and reduction clutch sleeve from rear output shaft in front of center case.
26. Front drive shift shaft, front drive shift fork, front drive clutch sleeve and front drive clutch hub from rear output shaft in rear of the center case.
27. Interlock ball from center case passage.
28. Reduction hub C-clip from rear output shaft using the J 34757.





29. Reduction clutch hub, low output gear and low output gear needle bearing from rear output shaft.





30. Rear output shaft from center case using a plastic mallet.





31. Rear output shaft front bearing from rear output shaft using a J 22912-01 and a press arbor.





32. Front output shaft and bearings from center case using a plastic mallet.





33. One bolt and case gutter from the center case.





34. Front output shaft oil seal from center case using - the J 26941 with the J 23907.





35. Front output shaft needle bearing from center case using the J 26941 with the J 23907.





36. Front output shaft bearings from front output shaft using a J 22912-01 with a J 34844 and a press arbor.





37. Input gear bearing C-clip from input gear.





38. Input gear from front case using a plastic mallet.





39. One bolt and oil guide from rear case.





40. Input gear oil seal from out case using the J 26941 with the J 23907.





41. Input gear C-clip from input gear.





42. Input gear bearing from input gear using the J 22912-01 with a J 28406 and a press arbor.
43. One roll pin from reduction shift fork and reduction shift fork from reduction shift shaft.
44. Two C-clips, shaft stop washer, front drive shift fork and front drive fork spring from front drive shift shaft.

Clean
1. Front case, rear case and center case with clean solvent and dry thoroughly. Pay particular attention to all case component mating surfaces to ensure proper case sealing.
2. All internal components with solvent and dry thoroughly.

Inspect
1. Front case, rear case, center case and gearshift lever case for cracks or porosity. Replace as necessary.
2. Drive teeth and clutching teeth of all gears and sprockets for broken or chipped teeth and gear clash damage.
3. Shift shafts and forks for excessive wear or distortion. Replace as necessary.
4. Clutch hubs and sleeves for poor fit and cracked or broken teeth. Replace as necessary.
5. Locating springs for weakness or distortion. Replace as necessary.

Measure
^ Tool Required:
- J 26900-5 Vernier Caliper





1. Each locating spring using a J 26900-5. Standard spring length should be 19.5 mm (0.768-inch). If spring length measures below 18.0 mm (0.709-inch), replace the springs as necessary.





2. Shift fork-to-clutch sleeve clearance using a feeler gage. Maximum shift fork-to-clutch sleeve clearance is 1.0 mm (0.039-inch). If clearance exceeds specification, replace the shift fork and clutch sleeve as necessary.