Operation CHARM: Car repair manuals for everyone.
Manuals through 2025 now available!

Our trusted friends have launched a new website named LEMON, which has newer manuals. It also contains all the CHARM manuals.

LEMON is the spiritual successor to CHARM, I recommend you try it!

Link: lemon-manuals.la or lemon-manuals.org.ua

(Some people have issue connecting. LEMON is investigating. For now, use Firefox or change your DNS server)

Or, hide this message: temporarily or permanently

EFE Heater System














EFE (Early Fuel Evaporator) System
To promote improved engine operation while the engine is warming up, the carburetor insulator includes a heater in the primary bore. The maximum temperature of the heater is regulated by the electrical resistance of the heating element

Caution:
- Be careful not to damage the EFE Heater when servicing the carburetor.
- Make sure that there is no foreign matter on the EFE heater after installing.
- Make sure that the O-ring and seal are properly installed.
- Do not pull the harness while removing installing the EFE Heater.
- When removing, make sure to disconnect the connector to the engine sub harness.





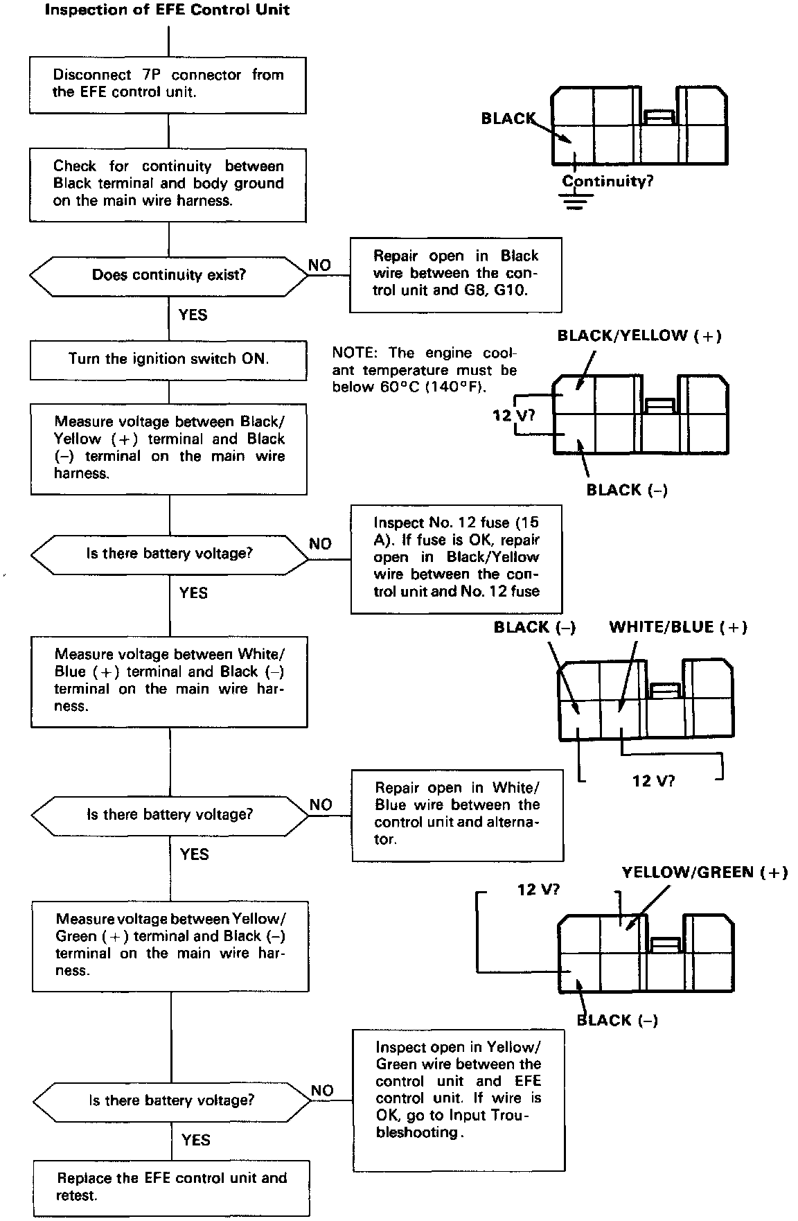
Inspection of EFE [1][2]Control Unit