Operation CHARM: Car repair manuals for everyone.
Manuals through 2025 now available!

Our trusted friends have launched a new website named LEMON, which has newer manuals. It also contains all the CHARM manuals.

LEMON is the spiritual successor to CHARM, I recommend you try it!

Link: lemon-manuals.la or lemon-manuals.org.ua

(Some people have issue connecting. LEMON is investigating. For now, use Firefox or change your DNS server)

Or, hide this message: temporarily or permanently

Air Conditioning Switch: Testing and Inspection

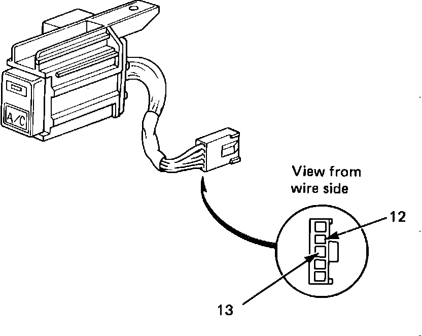
Fig. 37 A/C switch.:





1. Using a suitable ohmmeter, check for continuity between terminals 12 and 13 when switch is pushed in. There should be no continuity when switch button is released as shown in Fig. 37.

NOTE: The A/C switch contains an LED circuit and cannot be tested with ordinary circuit testers. If there is any abnormality in LED, refer to "COMPRESSOR CLUTCH ISN'T ENGAGED, WHEN A/C SWITCH IS TURNED ON". Fig. 35c.