Operation CHARM: Car repair manuals for everyone.
Manuals through 2025 now available!

Our trusted friends have launched a new website named LEMON, which has newer manuals. It also contains all the CHARM manuals.

LEMON is the spiritual successor to CHARM, I recommend you try it!

Link: lemon-manuals.la or lemon-manuals.org.ua

(Some people have issue connecting. LEMON is investigating. For now, use Firefox or change your DNS server)

Or, hide this message: temporarily or permanently

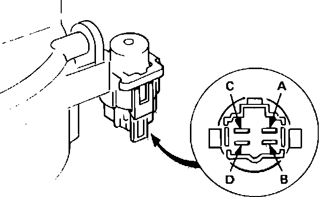
Blower Motor Relay: Testing and Inspection

Fig. 31 Typical blower relay:





1. Connect the A terminal to battery positive terminal and B terminal to the battery negative terminal Fig. 31. There should be no continuity between C and D terminals.
2. Disconnect battery and check for continuity. There should be no continuity. If continuity exists, replace relay.