Operation CHARM: Car repair manuals for everyone.
Manuals through 2025 now available!

Our trusted friends have launched a new website named LEMON, which has newer manuals. It also contains all the CHARM manuals.

LEMON is the spiritual successor to CHARM, I recommend you try it!

Link: lemon-manuals.la or lemon-manuals.org.ua

(Some people have issue connecting. LEMON is investigating. For now, use Firefox or change your DNS server)

Or, hide this message: temporarily or permanently

Compressor Clutch Relay: Testing and Inspection

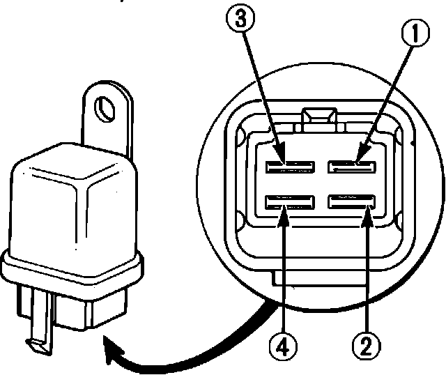
Fig. 32 Typical clutch & fan relay:





1. Check for continuity between terminals 3 and 4, Fig. 32. There should no continuity.
2. Connect a 12 volt battery across terminals 1 and 2. There should be continuity between 3 and 4.