Operation CHARM: Car repair manuals for everyone.
Manuals through 2025 now available!

Our trusted friends have launched a new website named LEMON, which has newer manuals. It also contains all the CHARM manuals.

LEMON is the spiritual successor to CHARM, I recommend you try it!

Link: lemon-manuals.la or lemon-manuals.org.ua

(Some people have issue connecting. LEMON is investigating. For now, use Firefox or change your DNS server)

Or, hide this message: temporarily or permanently

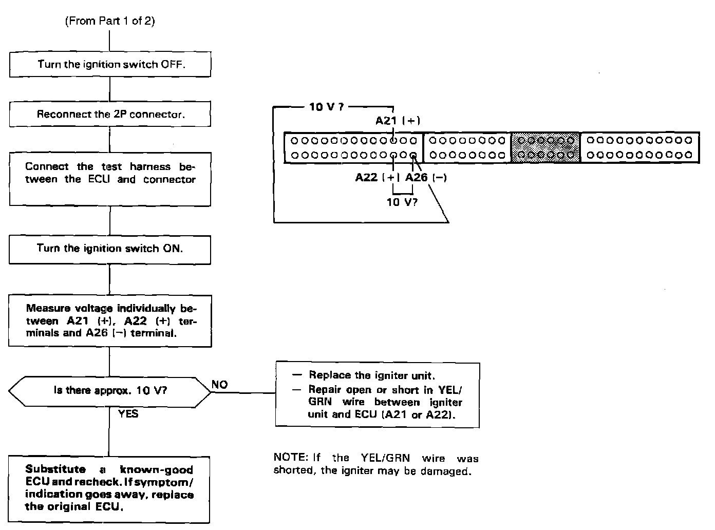
Ignition Output Signal: Testing and Inspection

Check Engine Light indicates trouble code 15:

Most likely a problem in the Ignition Output Signal Circuit.


Part 1 Of 2:





Part 2 Of 2:





The Check Engine warning light may come on, indicating a system problem, when, in fact, there is a poor or intermittent electrical connection. First, check the electrical connections, clean or repair connections if necessary.