Operation CHARM: Car repair manuals for everyone.
Manuals through 2025 now available!

Our trusted friends have launched a new website named LEMON, which has newer manuals. It also contains all the CHARM manuals.

LEMON is the spiritual successor to CHARM, I recommend you try it!

Link: lemon-manuals.la or lemon-manuals.org.ua

(Some people have issue connecting. LEMON is investigating. For now, use Firefox or change your DNS server)

Or, hide this message: temporarily or permanently

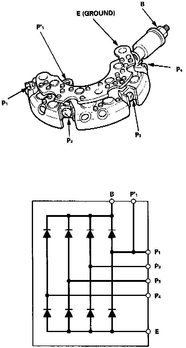
Rectifier Diode / Bridge: Testing and Inspection

Rectifier Test (Nippondenso Alternator):






NOTE: The diodes are designed to allow current to pass in one direction, while blocking the opposite direction. The rectifier is made up of eight diodes (four pairs), each diode must be tested for continuity in both directions. A total of 16 checks.

1. Check for continuity in each direction, between the B and P (of each diode pair) terminals, and between the E (ground) and P (of each diode pair) terminals. All diodes should have continuity in only one direction.
2. If any of the eight diodes fails, replace the rectifier assembly. Diodes are not available separately.