Operation CHARM: Car repair manuals for everyone.
Manuals through 2025 now available!

Our trusted friends have launched a new website named LEMON, which has newer manuals. It also contains all the CHARM manuals.

LEMON is the spiritual successor to CHARM, I recommend you try it!

Link: lemon-manuals.la or lemon-manuals.org.ua

(Some people have issue connecting. LEMON is investigating. For now, use Firefox or change your DNS server)

Or, hide this message: temporarily or permanently

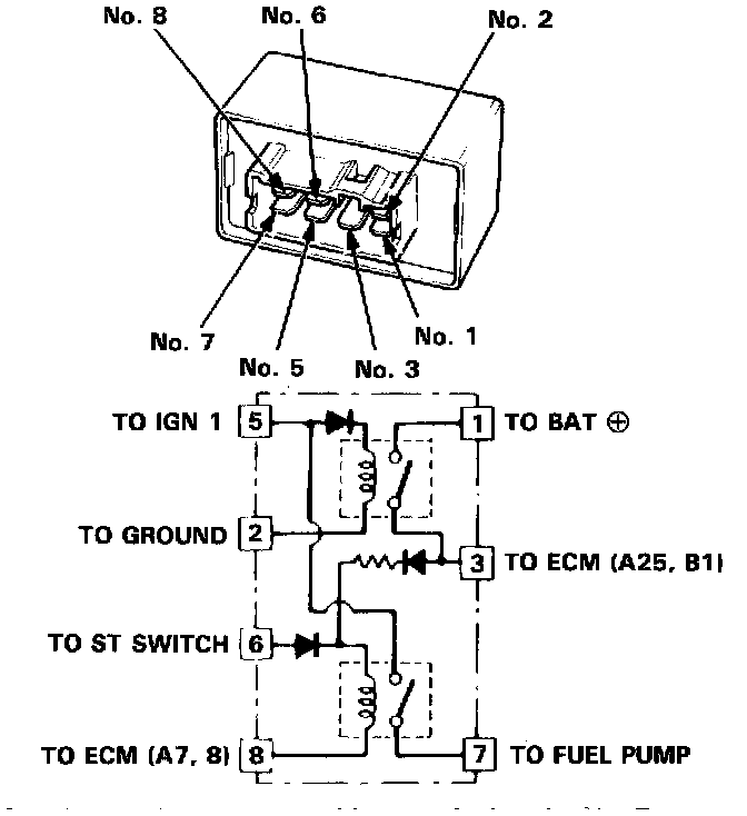
Main Relay (Computer/Fuel System): Testing and Inspection


INSPECTION
1. Remove the PGM-FI main relay.

PGM-FI Main Relay Test:





2. Attach the battery positive terminal to the No. 6 terminal and the battery negative terminal to the No. 8 terminal of the PGM-FI main relay. Then check for continuity between the No. 5 terminal and No. 7 terminal of the PGM-FI main relay.
^ If there is continuity, go on to step 3.
^ If there is no continuity, replace the relay and retest.
3. Attach the battery positive terminal to the No. 5 terminal and the battery negative terminal to the No. 2 terminal of the PGM-FI main relay. Then check that there is continuity between the No. 1 terminal and No. 3 terminal of the PGM-FI main relay.
^ If there is continuity, go on to step 4.
^ If there is no continuity, replace the relay and retest.
4. Attach the battery positive terminal to the No. 3 terminal and the battery negative terminal to the No. 8 terminal of the PGM-FI main relay. Then check that there is continuity between the No. 5 terminal and No. 7 terminal of the PGM-FI main relay.
^ If there is continuity, the relay is OK.
^ If there is no continuity, replace the relay and retest.

NOTE: If the car starts and continues to run, the PGM-FI main relay is OK.