Operation CHARM: Car repair manuals for everyone.
Manuals through 2025 now available!

Our trusted friends have launched a new website named LEMON, which has newer manuals. It also contains all the CHARM manuals.

LEMON is the spiritual successor to CHARM, I recommend you try it!

Link: lemon-manuals.la or lemon-manuals.org.ua

(Some people have issue connecting. LEMON is investigating. For now, use Firefox or change your DNS server)

Or, hide this message: temporarily or permanently

Rear Door Window Regulator: Service and Repair


Glass/Regulator/Glass Run Channel Replacement

1. Remove:
^ Door panel
^ Plastic cover

2. Connect the power window switch on the inner handle to the door harness.

3. Remove the center lower channel.





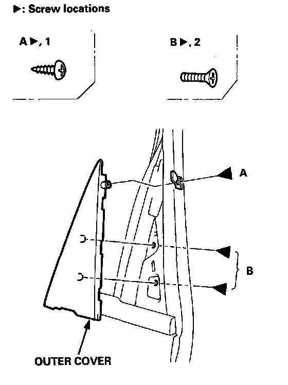
4. Remove the outer cover.





5. Carefully move the glass until you can see the bolts, then remove them.

NOTE: Take care not to drop the glass inside the door.





6. Carefully lower the glass. Remove the bolts and nut from the rear lower channel, then remove the glass from the rear lower channel.

NOTE: Take care not to drop the glass inside the door.





7. Carefully remove the glass from the window slot as shown.

NOTE:
^ Apply protective tape to protect the sash trim. Take care not to drop the glass inside the door.





8. Disconnect the connector, and detach the harness clip, then remove the regulator through the hole in the door.

NOTE: Scribe a line around the rear roller guide bolt to show the original adjustment.





9. Remove the glass run channel.

NOTE: If necessary, remove the glass guide clip.





10. Remove the rear lower channel.

NOTE: If necessary, remove the center lower glass run channel from the center lower channel.





11. Grease all the sliding surfaces of the regulator where shown.

NOTE:
^ If necessary, remove the power window motor from the regulator.
^ Before removing the power window motor, scribe a line across the sector gear and regulator.





12. If the power window motor was removed, install it on the regulator. Check that the regulator moves smoothly by connecting a 12 V battery to the power window motor.

13. Temporarily install the rear lower channel, then install the glass run channel.

NOTE: Fit the glass run channel into the rear lower channel, and on the door as shown.





14. Install the regulator.

NOTE: Make sure the connector is connected properly.

15. Install the glass on the regulator, and insert it into the rear lower channel, then temporarily tighten the bolts and nut of the rear lower channel.

16. Raise the glass, then install the center lower channel.

17. Tighten the bolts and nut of the rear lower channel securely.

18. Pull the outer weatherstrip away, then install the outer cover as shown.

NOTE: Fit the outer cover securely.





19. Roll the glass up and down to see if it moves freely without binding. Also make sure that there is no clearance between the glass and glass run channel when the glass is closed. Adjust the position of the glass as necessary.

20. Make sure the door harness and connectors are fastened correctly on the door.

21. Disconnect the power window switch from the door harness.

22. Install the plastic cover and all removed parts.

23. Install the door panel.