Operation CHARM: Car repair manuals for everyone.
Manuals through 2025 now available!

Our trusted friends have launched a new website named LEMON, which has newer manuals. It also contains all the CHARM manuals.

LEMON is the spiritual successor to CHARM, I recommend you try it!

Link: lemon-manuals.la or lemon-manuals.org.ua

(Some people have issue connecting. LEMON is investigating. For now, use Firefox or change your DNS server)

Or, hide this message: temporarily or permanently

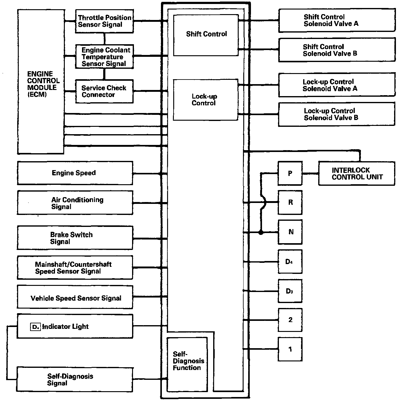
Control System





The Electronic Control System consists of the transmission control module (TCM), sensors, and four solenoid valves. shifting and lock-up are electronically controlled for comfortable driving under all conditions. the TCM is located below the dashboard, behind the right side kick panel on the passenger's side.

SHIFT CONTROL
Getting a signal from each sensor, the TCM determines the appropriate gear and activates the shift control solenoid valves A and/or B.





The combination of driving signals to shift control solenoid valves A and B is shown in the table.