Operation CHARM: Car repair manuals for everyone.
Manuals through 2025 now available!

Our trusted friends have launched a new website named LEMON, which has newer manuals. It also contains all the CHARM manuals.

LEMON is the spiritual successor to CHARM, I recommend you try it!

Link: lemon-manuals.la or lemon-manuals.org.ua

(Some people have issue connecting. LEMON is investigating. For now, use Firefox or change your DNS server)

Or, hide this message: temporarily or permanently

Master Switch Input Test

Master Switch Input Test

4-door

NOTE: The power window control unit is built into the power window master switch, and it only controls the driver's window operations.

1. Remove the door grip cover.




2. Disconnect the 20P connector (A) from the master switch (B).
3. Inspect the connector and socket terminals to be sure they are all making good contact.
- If the terminals are bent, loose or corroded, repair them as necessary, and recheck the system.
- If the terminals look OK, make the following input tests at the connector.
- If a test indicates a problem, find and correct the cause, then recheck the system.
- If all the input tests prove OK, the power window master switch must be faulty; replace it.




4. Disconnect the 20P connector and make these input tests.




5. Reconnect the connector to the power window master switch and make these input tests.

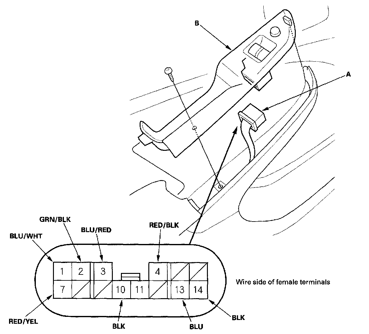
2-door

NOTE: The power window control unit is built into the power window master switch, and it only controls the driver's window operations.

1. Remove the door grip cover.




2. Disconnect the 14P connector (A) from the master switch (B).
3. Inspect the connector and socket terminals to be sure they are all making good contact.
- If the terminals are bent, loose or corroded, repair them as necessary, and recheck the system.
- If the terminals look OK, Go to step 4.




4. Reconnect the 14P connector to the power window master switch, and perform the given input tests.




5. Disconnected the 14Pconnecter and, make these in put tests at the connector.