Operation CHARM: Car repair manuals for everyone.
Manuals through 2025 now available!

Our trusted friends have launched a new website named LEMON, which has newer manuals. It also contains all the CHARM manuals.

LEMON is the spiritual successor to CHARM, I recommend you try it!

Link: lemon-manuals.la or lemon-manuals.org.ua

(Some people have issue connecting. LEMON is investigating. For now, use Firefox or change your DNS server)

Or, hide this message: temporarily or permanently

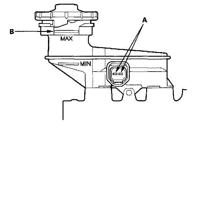
Brake Fluid Level Sensor/Switch: Testing and Inspection

Brake Fluid Level Switch Test





Check for continuity between the terminals (A) with the float in the down position and the up position:
^ Remove the brake fluid completely from the reservoir. With the float down, there should be continuity.
^ Fill the reservoir with brake fluid to MAX (upper) level (B). With the float up, there should be no continuity.