Operation CHARM: Car repair manuals for everyone.
Manuals through 2025 now available!

Our trusted friends have launched a new website named LEMON, which has newer manuals. It also contains all the CHARM manuals.

LEMON is the spiritual successor to CHARM, I recommend you try it!

Link: lemon-manuals.la or lemon-manuals.org.ua

(Some people have issue connecting. LEMON is investigating. For now, use Firefox or change your DNS server)

Or, hide this message: temporarily or permanently

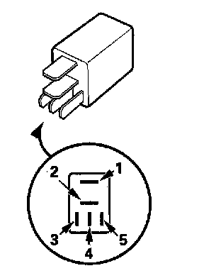
Ignition Relay: Testing and Inspection

IG2 Relay

Five-terminal type B:

Check for continuity between the terminals.
- There should be continuity between the No. and No.2 terminals when power and ground are connected to the No.3 and No.5 terminals.




- There should be continuity between the No. 1 and No.4 terminals when power is disconnected.
- Rear window defogger relay




- Rear window defogger change relay