Operation CHARM: Car repair manuals for everyone.
Manuals through 2025 now available!

Our trusted friends have launched a new website named LEMON, which has newer manuals. It also contains all the CHARM manuals.

LEMON is the spiritual successor to CHARM, I recommend you try it!

Link: lemon-manuals.la or lemon-manuals.org.ua

(Some people have issue connecting. LEMON is investigating. For now, use Firefox or change your DNS server)

Or, hide this message: temporarily or permanently

Fluid - Differential: Service and Repair

Inspection and Replacement
1. With the vehicle on level ground, inspect the differential fluid with engine OFF.





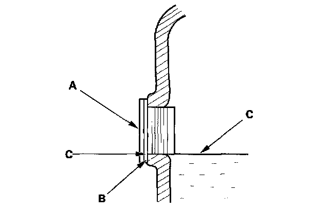
2. Remove the oil filler plug (A) and sealing washer (B), then check the condition of the fluid, and make sure the fluid is at the proper level (C).
3. The fluid level must be up to the fill hole. If it is below the hole, add the recommended fluid until it runs out, then reinstall the oil filler plug with a new sealing washer.





4. If the differential fluid is dirty, remove the drain plug (A), and drain the fluid.
5. Clean the drain plug, then reinstall it with a new sealing washer, and refill the differential with the recommended fluid to the proper level.

NOTE: If you disassembly the differential, check the fluid level again after the 4WD system check is finished. Add fluid if necessary.

Fluid Capacity
1.0 L (1.1 US qt., 0.9 Imp qt.) at fluid change
1.2 L (1.3 US qt., 1.1 Imp qt.) at overhaul
Recommended fluid: Honda Dual Pump Fluid
6. Reinstall the oil filler plug with a new sealing washer.