Operation CHARM: Car repair manuals for everyone.
Manuals through 2025 now available!

Our trusted friends have launched a new website named LEMON, which has newer manuals. It also contains all the CHARM manuals.

LEMON is the spiritual successor to CHARM, I recommend you try it!

Link: lemon-manuals.la or lemon-manuals.org.ua

(Some people have issue connecting. LEMON is investigating. For now, use Firefox or change your DNS server)

Or, hide this message: temporarily or permanently

Piston Ring Replacement

Replacement
1. Remove the piston from the cylinder block.





2. Using a ring expander (A), remove the old piston rings (B).
3. Clean all ring grooves thoroughly with a squared off broken ring or ring groove cleaner with a blade to fit the piston grooves. The top ring groove is 1.0 mm (0.04 inch) wide. The second ring groove is 1.2 mm (0.05 inch wide. The oil ring groove is 2.0 mm (0.08 inch) wide. File down a blade if necessary. Do not use a wire brush to clean the ring grooves, or cut the ring grooves deeper with cleaning tools.

NOTE: If the piston is to be separated from the connecting rod, do not install new rings yet.





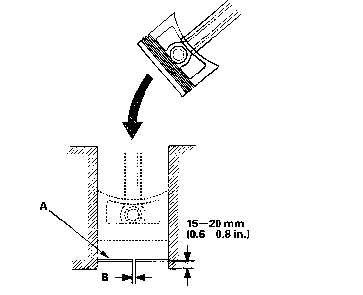
4. Using a piston, push a new ring (A) into the cylinder bore 15 - 20 mm (0.6 - 0.8 inch) from the bottom.
5. Measure the piston ring end-gap (B) with a feeler gauge:
^ If the gap is too small, check to see if you have the proper rings for your engine.
^ If the gap is too large, recheck the cylinder bore diameter against the wear limits.
^ If the bore is over the service limit, the cylinder block must be rebored.
Piston Ring End-Gap:
Top Ring
Standard (New): 0.15 - 0.30 mm (0.006 - 0.012 inch)
Service Limit: 0.60 mm (0.024 inch)
Second Ring
Standard (New): 0.30 - 0.45 mm (0.012 - 0.018 inch)
Service Limit: 0.60 mm (0.024 inch)
Oil Ring
Standard (New): 0.20 - 0.70 mm (0.008 - 0.028 inch)
Service Limit: 0.80 mm (0.031 inch)





6. Install the top ring (A) and second ring (B) as shown The manufacturing marks (C) must be facing upward.





7. Rotate the rings in their grooves to make sure they do not bind.
8. Position the ring end gaps as shown:





9. After installing a new set of rings, measure the ring-to-groove clearances:
Top Ring Clearance
Standard (New): 0.035 - 0.060 mm (0.0014 - 0.0024 inch)
Service Limit: 0.13 mm (0.005 inch)
Second Ring Clearance
Standard (New): 0.030 - 0.055 mm (0.0012 - 0.0022 inch)
Service Limit: 0.13 mm (0.005 inch)