Operation CHARM: Car repair manuals for everyone.
Manuals through 2025 now available!

Our trusted friends have launched a new website named LEMON, which has newer manuals. It also contains all the CHARM manuals.

LEMON is the spiritual successor to CHARM, I recommend you try it!

Link: lemon-manuals.la or lemon-manuals.org.ua

(Some people have issue connecting. LEMON is investigating. For now, use Firefox or change your DNS server)

Or, hide this message: temporarily or permanently

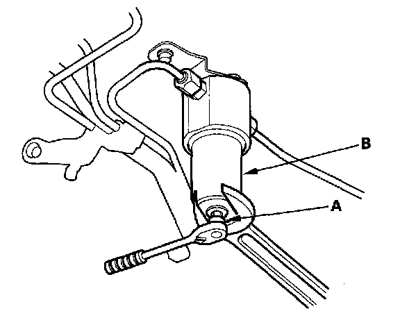
Fuel Filter: Testing and Inspection

Fuel Filter A Inspection

WARNING: Compressed natural gas is flammable and highly explosive. You could be killed or seriously injured if leaking natural gas is ignited.
Stop the engine, and keep heat, sparks and flames away.


1. Relieve the fuel pressure (between the engine and the manual shut-off valve).
2. Remove the under-floor cover.




3. Loosen the drain plug (A) on the fuel filter A slowly. Hold the fuel filter housing (B) when loosening the drain plug.
4. Apply silicone grease (PARKER CHRISTO-LUB) to a new O-ring, and carefully install it into its proper position.
5. Install parts in reverse order of removal.
6. Do the leak inspection procedure.