Operation CHARM: Car repair manuals for everyone.
Manuals through 2025 now available!

Our trusted friends have launched a new website named LEMON, which has newer manuals. It also contains all the CHARM manuals.

LEMON is the spiritual successor to CHARM, I recommend you try it!

Link: lemon-manuals.la or lemon-manuals.org.ua

(Some people have issue connecting. LEMON is investigating. For now, use Firefox or change your DNS server)

Or, hide this message: temporarily or permanently

Electronic Control System

Functional Diagram





The electronic control system consists of the powertrain control module (PCM), sensors, switches, and solenoid valves.
Shifting is electronically controlled for comfortable driving under all conditions.
The PCM inputs signals from the sensors and switches, perform processing data, and outputs signals for engine control system and A/T control system. The A/T control system includes shift control, pulley pressure control, start clutch pressure control, and reverse inhibit control, is stored in the PCM. The PCM actuates the solenoid valves to control shifting transmission pulley ratios.








Electronic Controls Location

Shift Control





The PCM compares actual driving conditions with memorized driving conditions to control shifting, and instantly determines a ratio of drive pulley and driven pulley by various signals sent from sensors and switches. The PCM actuates the CVT speed change control valve assembly to control pulley pressure to the pulleys. The drive pulley drives the driven pulley by the steel belt at a ratio between 2.466 and 0.449 in non-stage in the D position. In the R position, the ratio is set to 1.300 when pressing the accelerator, and to 2.466 when the accelerator released.

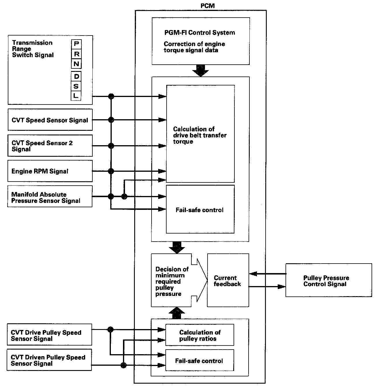
Pulley Pressure Control





For reducing belt slippage and long belt life, the PCM receives input signals from the sensors and switches, and actuates the pulley pressure control valve assembly to regulate optimum pulley pressure to the pulleys.
When the pulley ratio is low (vehicle is driven in low speed), the driven pulley receives high pulley pressure to hold large diameter, and the drive pulley receives low pressure to hold diameter of proportion to the driven pulley.
When the pulley ratio is high, the driven pulley receives low pressure, and drive pulley receives high.

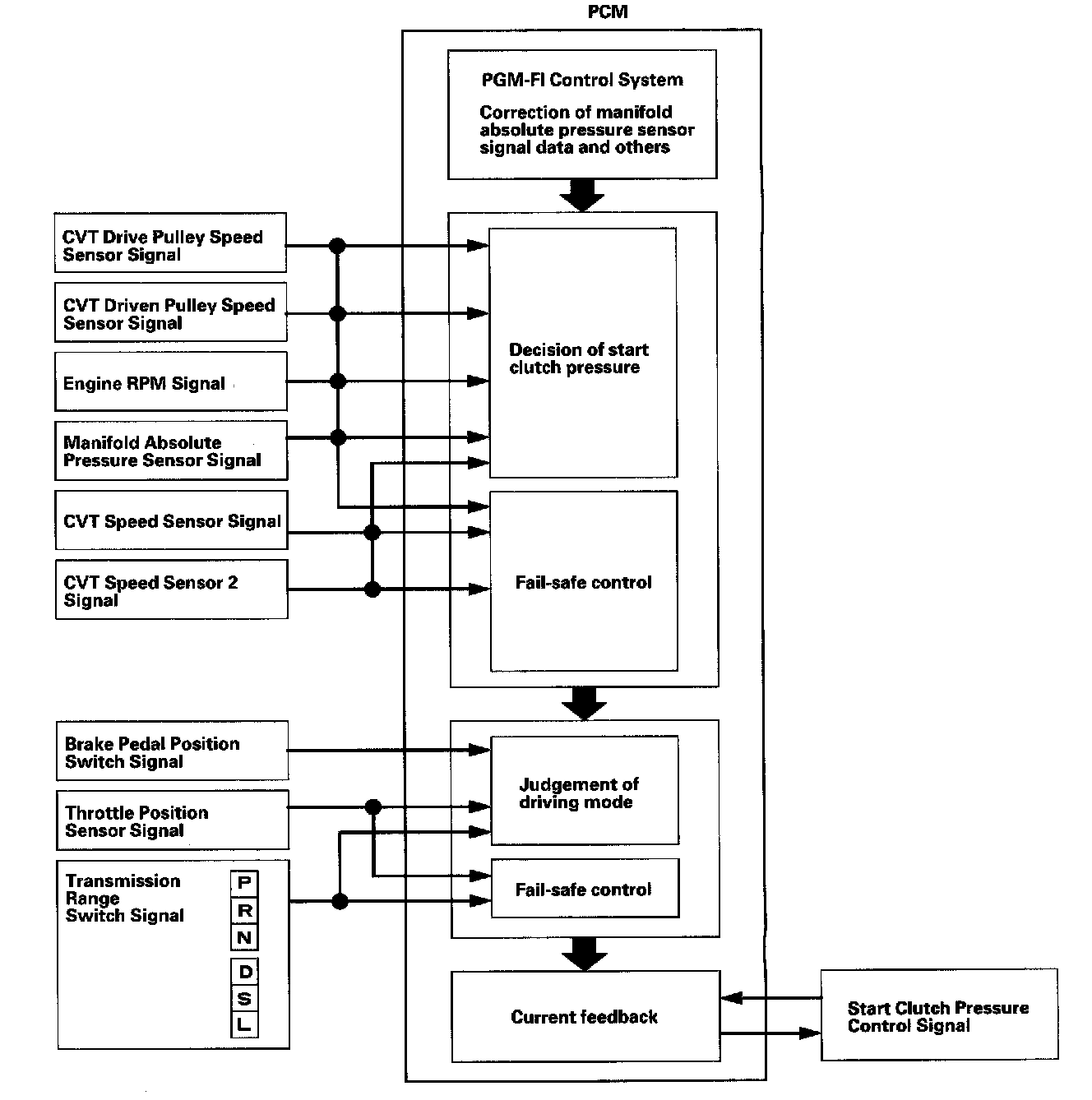
Start Clutch Pressure Control





Hydraulic-controlled start clutch works smooth starting-off and creeping in the D, S, L, and R positions like the torque converter. The PCM inputs signals from the sensors and switches, and actuates the start clutch pressure control valve assembly to regulate the clutch reducing pressure, and the clutch reducing pressure controls the start clutch engagement.





PCM Electrical Connections

PCM Inputs and Outputs





The PCM terminal voltage and measuring conditions are shown for the connector terminals that are related to the A/T control system. The other PCM terminal voltage and measuring conditions are described in section 11.





PCM CONNECTOR A (31P)





PCM Inputs and Outputs





PCM CONNECTOR B (24P)








PCM CONNECTOR C (22P)





PCM CONNECTOR E (31P)