Operation CHARM: Car repair manuals for everyone.
Manuals through 2025 now available!

Our trusted friends have launched a new website named LEMON, which has newer manuals. It also contains all the CHARM manuals.

LEMON is the spiritual successor to CHARM, I recommend you try it!

Link: lemon-manuals.la or lemon-manuals.org.ua

(Some people have issue connecting. LEMON is investigating. For now, use Firefox or change your DNS server)

Or, hide this message: temporarily or permanently

Quarter Window Glass: Service and Repair

Quarter Glass Replacement

2-door

NOTE:
- Put on gloves to protect your hands.
- Wear eye protection while cutting the glass adhesive with piano wire.
- Cover interior surfaces to avoid damaging them.

1. Remove these items:
- C-pillar trim and side trim panel
- B-pillar upper trim

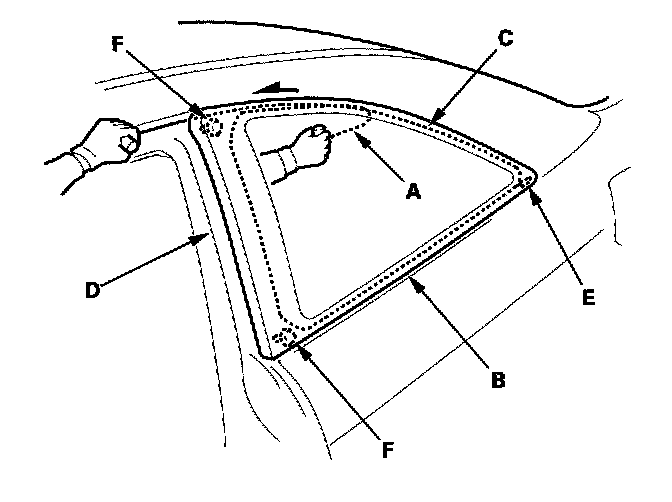
2. Apply protective tape along the inside and outside edges of the body, and along the edge of the headliner. Using an awl, make a hole through the adhesive from inside the vehicle. Push a piece of piece of piano wire through the hole, and wrap each end around a piece of wood.







3. With a helper on the outside, pull the piano wire (A) back and forth in a sawing motion. Hold the piano wire as close to the quarter glass (B) as possible to prevent damage to the body, and carefully cut through the adhesive (C) around the entire quarter glass:
- If the quarter glass will be reinstalled, take care not to damage the molding (D).
- If the molding is damaged, replace the quarter glass, molding fastener (E), and clips (F) as an assembly.
- If any of the clips and fastener are broken, the quarter glass can be reinstalled using butyl tape (refer to step 8).

4. Carefully remove the quarter glass.
5. With a putty knife, scrape the old adhesive smooth to a thickness of about 2 mm (0.08 in.) on the bonding surface around the entire quarter glass opening flange:
- Do not scrape down to the painted surface of the body; damaged paint will interfere with proper bonding.
- Remove the clips and fastener from the body.

6. Clean the body bonding surface with a sponge dampened in alcohol. After cleaning, keep oil, grease and water from getting on the surface.
7. If the old quarter glass will be reinstalled, use a putty knife to scrape off all of the old adhesive, any broken clips, and the fastener from the glass. Clean the inside face and the edge of the glass with alcohol where new adhesive will be applied. Make sure the bonding surface is kept free of water, oil and grease.




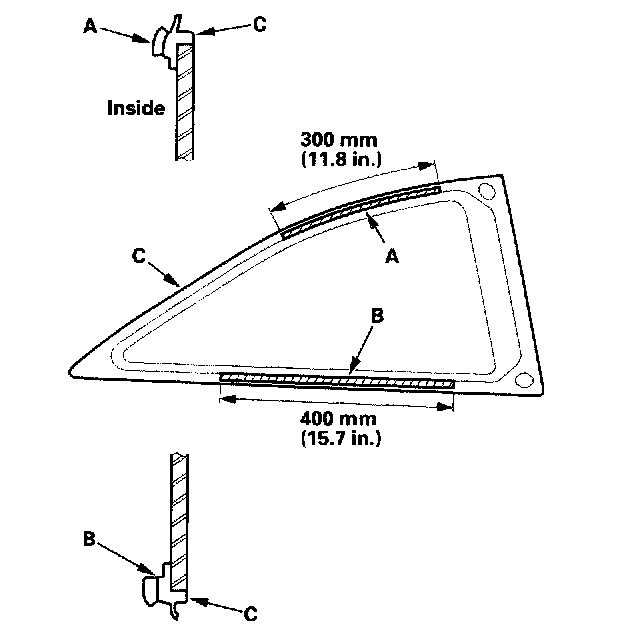
8. If the old quarter glass will be reinstalled (and either clip is broken off the molding), apply a light coat of primer, then apply butyl tapes (A) and (B) to the molding (C) as shown:
- Be careful not to touch the quarter glass where adhesive will be applied.
- Do not peel the separator off the butyl tapes.




9. If the new quarter glass will be installed, attach the fastener (A) with adhesive tape to the body. Be sure the fastener lines up with the alignment marks (B).

Fastener adhesive tape:
Thickness 0.8 mm (0.03 in.)
Width 7 mm (0.28 in.)




10. If the old quarter glass will be reinstalled (and either clip is broken off the molding), seal the body holes with pieces of urethane tape (A). Then set the quarter glass upright in the opening, and make alignment marks (B) across the quarter glass and body with a grease pencil at the three points shown. Be careful not to touch the quarter glass where adhesive will be applied.
11. Remove the quarter glass.




12. With a sponge, apply a light coat of glass primer to the inside face of the quarter glass (A) as shown, then lightly wipe it off with gauze or cheesecloth:
- Do not apply body primer to the quarter glass, and do not get body and glass primer sponges mixed up.
- Never touch the primed surfaces with your hands. If you do the adhesive may not bond to the quarter glass properly, causing a leak after the quarter glass is installed.
- Keep water, dust, and abrasive materials away from the primed surfaces.




13. With a sponge, carefully apply a light coat of body primer to any exposed paint or metal around the flange where new adhesive will be applied. Let the primer dry for at least 10 minutes:
- Do NOT apply body primer to any remaining original adhesive on the flange.
- Be careful not to mix up the body and glass primer sponges.
- Never touch the primed surfaces with your hands.




14. Cut a "V" in the end of the nozzle (A) on the adhesive cartridge as shown.




15. Put the cartridge in a caulking gun, and run a bead of adhesive (A) around the edge of the quarter glass (B) as shown:
- After applying the adhesive, peel the separator off the butyl tape.
- Apply the adhesive within 30 minutes after applying the glass primer. Make a slightly thicker bead at each corner.




16. Use suction cups (A) to hold the quarter glass (B) over the opening, align the clips or the alignment marks (C) made in step 10, and set it down on the adhesive. Lightly push on the quarter glass until its edges are fully seated on the adhesive all the way around. Do not open or close the doors until the adhesive is dry.
17. Scrape or wipe any excess adhesive off with a putty knife or towel. To remove adhesive from a painted surface or the quarter glass, wipe with a soft shop towel dampened with alcohol.
18. Let the adhesive dry for at least 1 hour, then spray water over the quarter glass and check for leaks. Mark the leaking areas and let the quarter glass dry, then seal with sealant. Let the vehicle stand for at least 4 hours after quarter glass installation. If the vehicle has to be used within the first 4 hours, it must be driven slowly.
19. Reinstall all remaining removed parts.

NOTE: Advise the customer not to do the following things for 2 to 3 days:
- Slam the doors with all the windows rolled up.
- Twist the body excessively (such as when going in and out of driveways at an angle or driving over rough, uneven roads).