Operation CHARM: Car repair manuals for everyone.
Manuals through 2025 now available!

Our trusted friends have launched a new website named LEMON, which has newer manuals. It also contains all the CHARM manuals.

LEMON is the spiritual successor to CHARM, I recommend you try it!

Link: lemon-manuals.la or lemon-manuals.org.ua

(Some people have issue connecting. LEMON is investigating. For now, use Firefox or change your DNS server)

Or, hide this message: temporarily or permanently

System Description

System Description

Overview




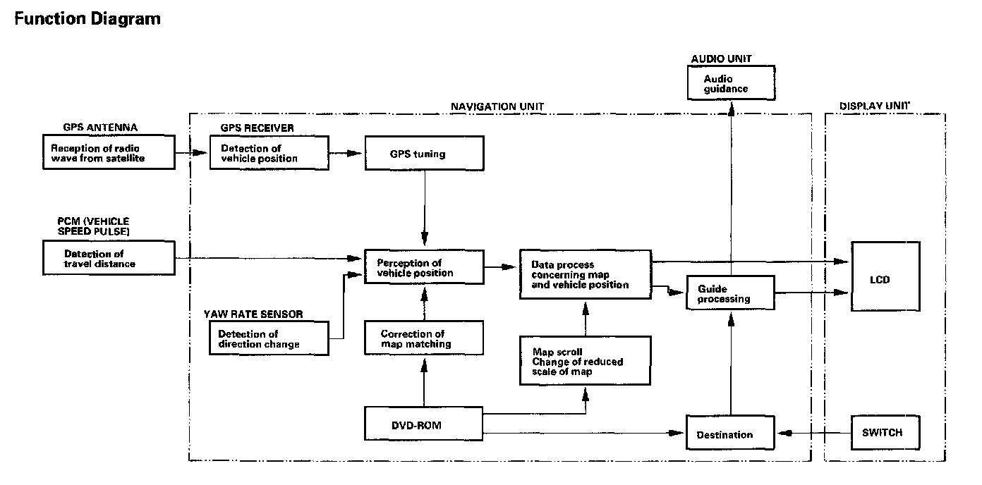
System Diagram

The Honda navigation system is a highly-sophisticated, hybrid locating system that uses satellites and a map database to show you where you are and to help guide you to a desired destination.

The navigation system receives signals from the global positioning system (GPS), a network of 24 satellites in orbit around the earth. By receiving signals from several of these satellites, the navigation system can determine the latitude and longitude of the vehicle. In addition, signals from the system's yaw rate sensor and the PCM (vehicle speed pulse) enable the system to keep track of the vehicle's direction and speed of travel.

This hybrid system has advantages over a system that is either entirely self-contained or one that relies totally on the GPS. For example, the self-contained portion of the system can keep track of vehicle position even when satellite signals cannot be received. When the navigation system is on, the GPS can keep track of the vehicle position even when the vehicle is transported by ferry.

The navigation system applies all this location, direction, and speed information to the maps and calculates a route to the destination entered. As you drive to that destination, the system provides both visual and audio guidance.





Navigation Function
The navigation system is composed of the navigation unit, the PCM (vehicle speed signal), the GPS antenna, audio unit and the display unit.

Vehicle Speed Pulse




The vehicle speed pulse is sent by the PCM. The PCM receives a signal from the countershaft speed sensor, then the processes the signal and transmits it to the speedometer and other systems.

Yaw Rate Sensor

The yaw rate sensor detects the direction change (angular speed) of the vehicle. The sensor is an oscillation gyro built into the navigation unit.

Sensor Element Structure

The sensor element is shaped like a tuning fork, and it consists of the piezoelectric parts, the metal block, and the support pin. There are four piezoelectric parts: one to drive the oscillators, one to monitor and maintain the oscillation at a regular frequency, and two to detect angular velocity. The two oscillators, which have a 90-degree twist in the center, are connected at the bottom by the metal block and supported by the support pin. A detection piezoelectric part is attached to the top of each oscillator. The driving piezoelectric part is attached to the bottom of one oscillator, and the monitoring piezoelectric part is attached to the bottom of the other oscillator.

Oscillation Gyro Principles

The piezoelectric parts have "electric/mechanical transfer characteristics." They bend vertically when voltage is applied to both sides of the parts, and voltage is generated between both sides of the piezoelectric parts when they are bent by an external force. The oscillation gyro functions by utilizing this characteristic of the piezoelectric parts and "Coriolis force." (Coriolis force deflects moving objects as a result of the earth's rotation.) In the oscillation gyro, this force moves the sensor element when angular velocity is applied.

Operation

1. The driving piezoelectric part oscillates the oscillator by repeatedly bending and returning when an AC voltage of 6 kHz is applied to the part. The monitoring-side oscillator resonates because it is connected to the driving-side oscillator by the metal block.
2. The monitoring piezoelectric part bends in proportion to the oscillation and outputs voltage (the monitor signal). The navigation unit control circuit controls the drive signal to stabilize the monitor signal.
3. When the vehicle is stopped, the detecting piezoelectric parts oscillate right and left with the oscillators, but no signal is output because the parts are not bent (no angular force)
4. When the vehicle turns to the right, the sensor element moves in a circular motion with the right oscillator bending forward and the left oscillator bending rearward. The amount of forward/rearward bend varies according to the angular velocity of the vehicle.




5. The detecting piezoelectric parts output voltage (the yaw rate signal) according to the amount of bend. The amount of vehicle direction change is determined by measuring this voltage.

Global Positioning System (GPS)

The global positioning system (GPS) enables the navigation system to determine the current position of the vehicle by utilizing the electric waves transmitted from the satellites in orbit around the earth. The satellites transmit the satellite identification signal, orbit information, transmission time signal, and other information. When the GPS receiver receives the electric waves from three or more satellites simultaneously, it calculates the current position of the vehicle based on the distance to each satellite and the satellite positions on their respective orbits.




Position detection Image with GPS satellite

Precision of GPS




The precision of the GPS varies according to the number of satellites from which electric waves are received and the control condition. The precision is indicated by the GPS mark shown on the upper left of the display.

GPS Antenna

The GPS antenna amplifies and transmits the electronic waves received from the satellites to the GPS receiver.

GPS Receiver

The GPS receiver is built in the navigation unit. It calculates the vehicle position by receiving the signal from the GPS antenna. The vehicle position and signal reception condition is transmitted from the GPS receiver to the navigation control unit to adjust vehicle position.

Navigation Unit

The navigation unit calculates the vehicle position and guides you to the destination The unit performs map matching correction, GPS correction, and distance tuning It also controls the menu functions and the DVD-ROM drive With control of all these items, the navigation unit makes the navigation picture signal, then it transmits the signal to the display unit and audio driving instructions to the audio unit.

Calculation of Vehicle Position

The navigation unit calculates the vehicle position (the driving direction and the current position) by receiving the directional change signals from the yaw rate sensor and the travel distance signals from the PCMs vehicle speed pulse (VSP) signal.

Map Matching Tuning

The map matching tuning is accomplished by indicating the vehicle position on the roads on the map The map data transmitted from the DVD-ROM is checked against the vehicle position data, and the vehicle position is indicated on the nearest road Map matching tuning does not occur when the vehicle travels on a road not shown on the map, or when the vehicle position is far away from a road on the map.

GPS Tuning

The GPS tuning is accomplished by indicating the vehicle position as the GPS's vehicle position The navigation unit compares its calculated vehicle position data with the GPS vehicle position data If there is large difference between the two, the indicated vehicle position is adjusted to the GPS vehicle position.

Distance Tuning

The distance tuning reduces the difference between the travel distance signal from the VSP and the distance data on the map The navigation unit compares its calculated vehicle position data with the GPS vehicle position data The navigation unit then decreases the tuning value when the vehicle position is always ahead of the GPS vehicle position, and it increases the tuning value when the vehicle position is always behind the GPS vehicle position.

Route Guidance

The navigation unit can calculate different routes to a selected destination You have four options:
- Direct Route - Calculate a route that is the most direct.
- Easy Route Calculate a route that minimizes the number of turns needed.
- Minimize Freeways Calculate a route that avoids freeway travel. If that is not possible, keep the amount of freeway travel to a minimum.
- Minimize Toll Roads - Calculate a route that avoids, or minimizes travel on toll roads.

Audio Guidance

The navigation unit transmits audio driving instructions before entering an intersection or passing a junction The audio instructions come through the audio unit to front speakers.

DVD-ROM

The map data (including all scale rates) is stored in the DVD-ROM The map data includes.
- Road distances, road widths, speed limits, traffic regulations, passing time at Junction, distances to junctions, and the driving instructions for audio guidance.
- Latitude and longitude GPS.

Glossary




The above is a glossary of terms used pertaining to the Navigation system.

Audio Unit

The audio unit receives the audio driving instructions from the navigation unit and transmits the instructions through the front speakers even when the audio system is in use.

Display Unit




The display unit uses liquid crystal display (LCD). The LCD is a 6-inch-wide, thin film transistor (TFT), stripe type with 280,800 picture elements. The color film and fluorescent light are laid out on the back of the liquid crystal film. The touch sensor on the front of the LCD is an infrared type with 10 vertical and 7 horizontal infrared rays to produce 70 sensing points. The display unit transmits the signal from each operation key and the touch switches to the navigation unit.