Operation CHARM: Car repair manuals for everyone.
Manuals through 2025 now available!

Our trusted friends have launched a new website named LEMON, which has newer manuals. It also contains all the CHARM manuals.

LEMON is the spiritual successor to CHARM, I recommend you try it!

Link: lemon-manuals.la or lemon-manuals.org.ua

(Some people have issue connecting. LEMON is investigating. For now, use Firefox or change your DNS server)

Or, hide this message: temporarily or permanently

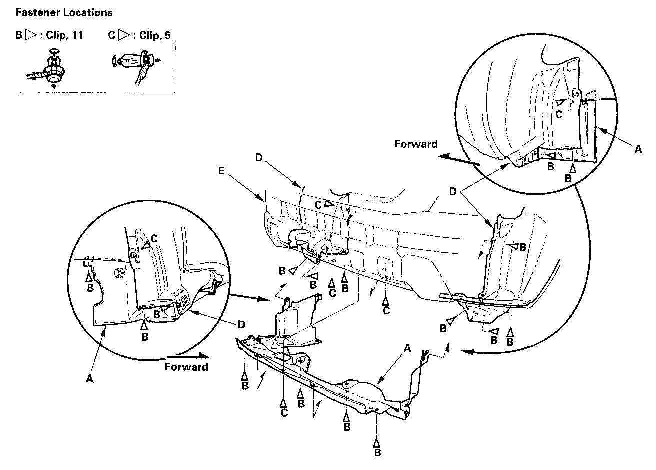
Skid Plate: Service and Repair

Splash Shield Replacement

NOTE: Take care not to scratch the body.




1. Remove the splash shield (A).
-1 From both wheel arch, remove the clips (B, C) securing the front inner fender (D) and splash shield (on the body).
-2 From under the front bumper (E), remove the clips (B, C).
-3 Pull the splash shield out.

2. Install the splash shield in the reverse order of removal, and replace any damaged clip.