Operation CHARM: Car repair manuals for everyone.
Manuals through 2025 now available!

Our trusted friends have launched a new website named LEMON, which has newer manuals. It also contains all the CHARM manuals.

LEMON is the spiritual successor to CHARM, I recommend you try it!

Link: lemon-manuals.la or lemon-manuals.org.ua

(Some people have issue connecting. LEMON is investigating. For now, use Firefox or change your DNS server)

Or, hide this message: temporarily or permanently

Power Mirror Motor: Service and Repair

Power Mirror Actuator Replacement

1. Remove the mirror holder.
2. Disconnect the 8P connector from the mirror actuator.




3. Record the terminal location and wire colors, then cut the mirror actuator wires with the wire cutter.
4. Remove the two Torx screws from the mirror connector (A), then remove the connector and cover(B).




5. Remove the four Torx screws and separate the actuator (A) from the mirror housing (B).




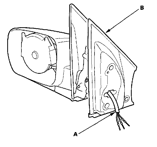
6. Route the wire harness (A) of the new actuator through the hole in the bracket (B).







7. Insert the terminals into the connector in the original arrangement as shown.
8. Reassemble in the reverse order of disassembly. Be careful not to break the mirror holder when reinstalling it to the actuator.
9. Reinstall the mirror assembly to the door.
10. Operate the power mirror to ensure smooth operation.