Operation CHARM: Car repair manuals for everyone.
Manuals through 2025 now available!

Our trusted friends have launched a new website named LEMON, which has newer manuals. It also contains all the CHARM manuals.

LEMON is the spiritual successor to CHARM, I recommend you try it!

Link: lemon-manuals.la or lemon-manuals.org.ua

(Some people have issue connecting. LEMON is investigating. For now, use Firefox or change your DNS server)

Or, hide this message: temporarily or permanently

Seat Latch: Service and Repair

Rear Seat-back Latch Lever Replacement

NOTE:
- Take care not to tear the seams or damage the seat covers.
- Put on gloves to protect your hands.
- The right rear seat is shown, and the left rear seat is symmetrical.




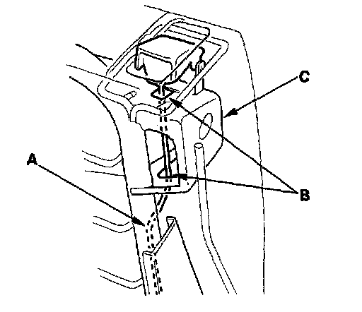
1. Remove the latch cover (A).
1. Pull up the rear edge of the latch lever cover to release the clips.
2. Release the cover from the pivot pins (B) of the latch lever (C) while pulling the latch lever.

2. Release the bottom hook, unzip the seat-back cover, then fold back the cover, right rear seat, left rear seat.




3. Disconnect the lock knob rod (A) from the outer recline adjuster (B).




4. Release the pivot pin (A) of the latch lever (B) from the seat-back frame (C), then remove the latch lever by pulling it up.




5. Install the lever in the reverse order of removal, and note these items:
- Make sure the lock knob rod (A) is passed through the holes (B) in the seat-back frame (C) correctly when reinstalling the latch lever.
- To prevent wrinkles, make sure the material is stretched evenly over the pad before securing the clips.
- Replace any damaged clips with new ones.