Operation CHARM: Car repair manuals for everyone.
Manuals through 2025 now available!

Our trusted friends have launched a new website named LEMON, which has newer manuals. It also contains all the CHARM manuals.

LEMON is the spiritual successor to CHARM, I recommend you try it!

Link: lemon-manuals.la or lemon-manuals.org.ua

(Some people have issue connecting. LEMON is investigating. For now, use Firefox or change your DNS server)

Or, hide this message: temporarily or permanently

How the Circuit Works

How the Circuit Works

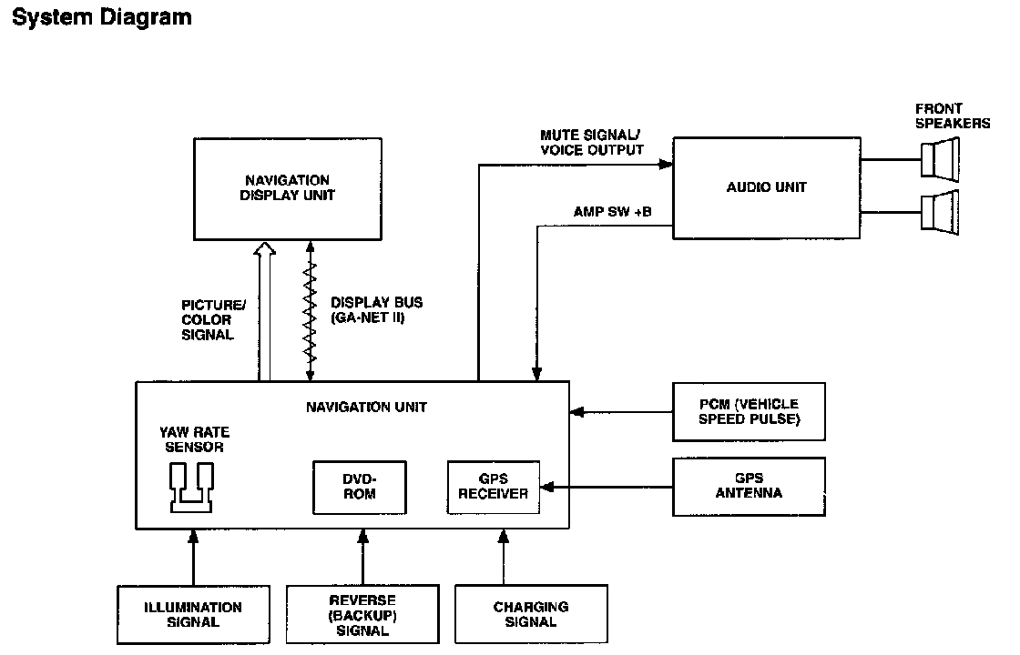
System Diagram:




System Diagram

Overview
The Honda Navigation System is a highly sophisticated locating system that uses satellite inputs and a map database to show the vehicles current location and to guide the driver to a desired destination. The navigation system receives signals from the global positioning system (GPS),which consists of a network of 24 satellites orbiting the earth. By receiving signals from several of these satellites, the navigation system can estimate the latitude, longitude and elevation of the vehicle. In addition, signals from the system's yaw rate sensor and the PCM (vehicle speed pulse) enable the system to keep track of the vehicle's direction and speed of travel. Because of this, the navigation system can keep track of the vehicle's position even when satellite signals cannot be received.

The Honda Navigation System has advantages over systems that are entirely self-contained or ones that rely totally on the GPS for vehicle position. The navigation system applies location, direction, and speed information to the maps and calculates a route to the destination entered. As the vehicle moves you, drive to that destination, the system provides both visual and audio guidance.

Power Supply
Fuse 11 is hot at all times and supplies battery voltage to the navigation unit and to the navigation display unit.

With the ignition switch in ACC (I) or ON (II) battery voltage is applied through fuse 9 to the navigation unit and to the navigation display unit.

Display Unit
The dash mounted display unit uses a liquid crystal display (LCD). The LCD is a 6-inch-diagonal, thin film transistor (TFT), stripe type with 280,800 picture elements. The color film and fluorescent light are laid out on the back of the liquid crystal film. The touch sensor on the front of the LCD is an infrared type with 10 vertical and 7 horizontal infrared rays to produce 70 sensing points. When the infrared lines are interrupted by a finger touching the screen, the display transmits the signal from each operation key and the touch switches to the navigation unit via the GA-Net II bus.

Navigation Unit
The navigation unit calculates the vehicle's position and guides the driver to the desired destination. The unit performs map matching correction-keeps the vehicle icon on the streets on the map, GPS correction, and distance tuning-adjusts for tire pressure variance and wear. It also controls the menu functions and the DVD-ROM drive. The navigation unit creates and transmits the red-green-blue (RGB) color signal to the navigation display unit and provides voice guidance to the audio unit.

Audio Unit.
The audio unit's speakers are used to provide voice guidance. When the navigation unit issues voice guidance, a muting signal is sent to the audio unit, which mutes the front speakers and routes the voice guidance to the front speakers. The navigation control unit monitors the ON/OFF condition of the radio by watching the voltage on the AMP SW+B circuit. When the audio unit is on, the circuit has 12 volts and when the audio unit is off, the circuit has 0 volts. It the audio unit is off, the navigation control unit will send a wake up command to the audio unit on the MUTE SIGNAL/VOICE OUTPUT wire for 2 seconds prior to sending voice guidance signals. This allows the audio unit time to turn on and prepare for voice guidance.

GA-Net II Bus
The GA-Net II bus connects the navigation display unit to the navigation control unit. This communication bus passes touch screen and button information from the display to the navigation control unit.

GPS Antenna
The GPS antenna amplifies and transmits the signals received from the satellites to the GPS receiver. The navigation control unit provides 5 volts to the electronics in the antenna's thru the antenna cable's center conductor. The antenna electronics filter and amplify the satellite signal before sending it to the GPS receiver which is located in the navigation control unit.

GPS Receiver
The GPS receiver is built into the navigation unit. It calculates the vehicle's position by receiving the amplified signal from the GPS antenna. The vehicle position and signal reception data is transmitted from the GPS receiver to the navigation control unit to place the vehicle position icon accurately on the map.

Other inputs
The navigation control unit also monitors:

The illumination circuit - When the parking lights are turned on, the navigation control unit detects 12 volts on the illumination circuit and switches to night mode (with the display set on auto illumination)

The reverse (BACKUP) signal - Because the vehicle speed signal is a digital signal, and is not directional, it can only be used to determine the speed of the vehicle, not the direction of travel. Because of this limitation, the navigation control unit monitors the BACKUP signal from the reverse relay when the transmission is placed in reverse. When the navigation control unit detects 12 volts on the BACKUP circuit, it shows the icon on the map moving in a reverse direction. The BACKUP signal is also used to switch the display from navigation system to display the optional rear view camera.

The charge circuit signal - To prevent the navigation system from depleting the battery, the navigation system will shut down if the charge system is not operating properly, or the engine is not running. When the alternator is operating normally, it applies 12 volts to the charge indicator circuit. When the navigation control unit detects 12 volts on the charge indicator circuit it will keep the navigation in the normal mode. If the navigation control unit detects 0 volts on the charge indicator circuit, the navigation system will shut down after about 5 minutes.