Operation CHARM: Car repair manuals for everyone.
Manuals through 2025 now available!

Our trusted friends have launched a new website named LEMON, which has newer manuals. It also contains all the CHARM manuals.

LEMON is the spiritual successor to CHARM, I recommend you try it!

Link: lemon-manuals.la or lemon-manuals.org.ua

(Some people have issue connecting. LEMON is investigating. For now, use Firefox or change your DNS server)

Or, hide this message: temporarily or permanently

Transmission Removal

Transmission Removal

Special Tools Required
^ Front subframe adapter EQS02BMDXSB0
^ Engine hanger adapter VSB02C00014
^ Engine hanger, A and Reds AART-12566 or equivalent, commercially available

NOTE: Use fender covers to avoid damaging painted surfaces.

1. Drain the power steering system fluid from the reservoir.
2. Pull the carpet to expose the steering joint cover.





3. Remove the steering joint cover (A).
4. Make a reference mark (B) across the steering joint (C) and steering gearbox pinion shaft (D). Remove the steering joint bolt (E), and disconnect the steering joint from the steering gearbox pinion shaft.
5. Before disconnecting the battery, make sure you have the anti-theta code for the radio (and the navigation system), then write down the frequencies for the radio's preset stations.
6. Secure the hood in a vertical position with the support rod.
7. Disconnect the battery negative terminal, then remove the positive terminal.
8. Remove the battery hold-down bracket, then disconnect the battery and battery tray.
9. Remove the harness clamps, connectors, and fuse box from the battery base. Loosen the bolt securing the battery base from under the vehicle, and the remaining bolts (3) from the engine compartment, then remove the battery base.





10. Remove the engine covers and intake air duct.





11. Remove the power steering pump outlet hose (A) at the pump (B), and remove the hose clamp bolt (C).
12. Raise the vehicle, and make sure it is supported securely.
13. Remove the splash shield.





14. Remove the drain plug (A), and drain the automatic transmission fluid (ATF). Reinstall the drain plug with a new sealing washer (B).





15. Remove the transmission breather tube clamp (A) from the clamp bracket (B) on the coolant pipe (C), and remove the breather tube (D) from its clamp (E) on the radiator hose.





16. Remove the cooler hose (A) from the clamp (B) on the starter, and paint a white dot (C) on the hose where it came out of the clamp.
17. Remove the ATF cooler hoses (A) from the ATF cooler lines (D). Turn the ends of the ATF cooler hoses up to prevent ATF from flowing out, then plug the ATF cooler hoses and lines. Check for any signs of leakage at the hose joints.





18. Remove the starter cables (A) from the starter (B), then remove the starter.





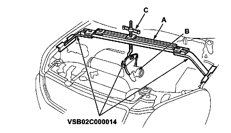
19. Remove the harness clips (B) from the brackets (D), then disconnect the connectors from the shift solenoid valves A and C, A/T clutch pressure control solenoid valve C (E), 4th clutch pressure switch (F), and mainshaft speed sensor (G).
20. Remove the transmission ground cable (H).





21. Remove the 8P connector (C) from its connector bracket (D), then disconnect the connector.
22. Remove the harness clips (E) from the brackets (F), then disconnect the connectors from the A/T clutch pressure control solenoid valves A and B.





23. Disconnect the connectors from the torque converter clutch solenoid valve (A) and shift solenoid valve B.





24. Remove the joint connector (A) and transmission range switch connector (B) from the connector bracket (C).
25. Disconnect transmission range switch connector, then remove the harness clip (D) from the bracket (E).
26. Disconnect the connector from the countershaft speed sensor (F).
27. Remove the bolt (G) securing the harness cover. then remove the harness cover (H).





28. Remove the primary heated oxygen sensor (Primary H02S) connector (A) from its connector bracket (B), then disconnect the connector.





29. Remove the transmission housing mounting bolts.





30. Remove the front mount nut.





31. Remove the front bulkhead cover (A), windshield wiper arms (B), cowl cover sealing (C), and cowl cover (D).





32. Lift and support the engine with an engine hanger (A) (T/N AART-12566, available through the American Honda Tool and Equipment Program, or equivalent) and the special tools. Loop the cable of the special tool around the throttle body (B), and tighten the wing nut (C) on the tool by hand until the cable is tight.





33. Remove the front subframe stiffener.





34. Remove the Primary H02S harness clamp bracket (A) from the transmission.
35. Remove the harness from the harness clamp (B).





36. Remove the exhaust pipe A.





37. Remove the spring clips (A) and castle nuts (B), and separate the lower arms (C) from the knuckles (D).
38. Insert a 6 mm Allen wrench (E) in the top of the ball joint pin (F), and remove the nut (G), then separate the stabilizer link (H).
39. Remove the cotter pins (I) and nuts (J), and separate the tie-rod end ball joints (K) from the knuckles.
40. Pry the led driveshaft out of the differential and the right driveshaft from the intermediate shaft.





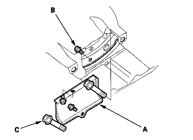
41. Make a reference mark (A) across the propeller shaft (B) and the transfer companion flange (C).
42. Separate the propeller shaft from the transfer.





43. Remove the shift cable cover (A), then remove the bolts securing the shift cable holder (B).
44. Remove the change shaft (C) and the lock bolt (D) securing the control lever (E), then remove the shift cable (F) with the control lever. Do not bend the shift cable excessively.





45. Install a 6 x 1.0 x 14 mm bolt (A) and nut (B) on the shift cable cover (C), then reinstall the shift cable cover to the torque converter housing. If you don't do this, the bolt head of the cable cover may prevent you from removing the tongue converter during transmission removal.





46. Remove the transfer assembly from the transmission.





47. Remove the torque converter cover (A), then remove the eight drive plate bolts (B) one at a time while rotating the crankshaft pulley.
48. Remove the engine-to-torque converter housing mounting bolts (C).





49. Disconnect the power steering pressure switch connector.





50. Remove the power steering hose clamp (A), then disconnect the hose (B) from the pipe (C) at the right front of the subframe (D).





51. Remove the transmission lower mount nuts (four).





52. Make reference marks (A) on the body across the marks (B) on the edge of the front subframe (C).





53. Remove the rear mount bracket bolts (three).





54. Loosen the four bolts (A) holding the adjustable arms (B) of the front subframe adapter (T/N EQS02BMDXB0) to its center plate.

NOTE: The adapter is designed to be use with the transmission jack (model number LSL-W93714) or powertrain lid (model number OTC-1585), both available through the Honda Tool and Equipment Program. It will also work with most commercially available transmission jack.





55. Line up the slots in the arms with the bolt holes on the corner of the jack base, then attach the adapter to the jack base with the bolts (A) that came with the jack. Tighten all bolts securely.
56. Raise the jack to vehicle height, then attach the adapter to the front subframe using the subframe stiffener mounting bolts (B) and bolt holes.





57. Remove the 12 x 1.25 mm bolts (6) (A) securing the subframe stiffeners (B), the four subframe mounting bolts (C), and the stiffeners, then lower the front subframe (D).





58. Remove the transmission lower mounts.





59. Remove the driveshafts from the differential and the intermediate shaft. Coat all precision finished surfaces with clean engine oil, then tie plastic bags over the driveshaft ends.
60. Move the led driveshaft towards the front of the vehicle.





61. Remove the intermediate shaft.
62. Coat all precision finished surfaces with clean engine oil, then tie plastic bags over both ends of the intermediate shaft.





63. Remove the front mount bracket.





64. Remove the transmission housing mounting bolts.
65. Lower the transmission, and tilt the! engine just enough for the transmission to clear its end cover from the side frame.
66. Place a jack under the transmission.
67. Pull the transmission away from the engine until it clears the dowel pins, then lower it on the jack.

NOTE: If the torque converter is stuck to the drive plate, pull it toward the transmission housing from the starter opening.





68. Remove the shift cable cover, then remove the torque converter assembly from the torque converter housing.





69. Remove the 6 x 1.0 x 14 mm bolt that you installed on the shift cable cover in step 45.
70. Inspect the drive plate, and replace if it's damaged.