Operation CHARM: Car repair manuals for everyone.
Manuals through 2025 now available!

Our trusted friends have launched a new website named LEMON, which has newer manuals. It also contains all the CHARM manuals.

LEMON is the spiritual successor to CHARM, I recommend you try it!

Link: lemon-manuals.la or lemon-manuals.org.ua

(Some people have issue connecting. LEMON is investigating. For now, use Firefox or change your DNS server)

Or, hide this message: temporarily or permanently

Connecting Rod: Service and Repair

Piston, Pin, and Connecting Rod Replacement
Disassembly
1. Remove the piston from the engine block.





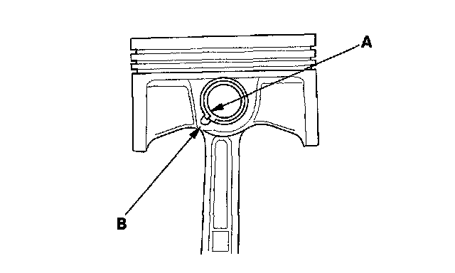
2. Apply new engine oil to the piston pin snap rings (A), and turn them in the ring grooves until the end gaps are lined up with the cutouts in the piston pin bores (B).

NOTE: Take care not to damage the ring grooves.





3. Remove both snap rings (A). Start at the cutout in the piston pin bore. Remove the snap rings carefully so they do not go flying or get lost. Wear eye protection.





4. Heat the piston and connecting rod assembly to about 158°F (70°C), then remove the piston pin.

Inspection

NOTE: Inspect the piston, piston pin, and connecting rod when they are at room temperature.





1. Measure the diameter of the piston pin.





2. Zero the dial indicator to the piston pin diameter.





3. Check the difference between the piston, pin diameter and piston pin hole diameter in the piston.





4. Measure the piston pin-to-connecting rod clearance.

Reassembly





1. Install a piston pin snap ring (A) only on one side.
2. Coat the piston pin bore in the piston, the bore in the connecting rod, and the piston pin with engine oil.





3. Heat the piston to about 158°F (70°C).





4. Install the piston pin (A). Assemble the piston (B) and connecting rod (C) with the arrow (D) and the embossed mark (E) on the same side.
5. Install the remaining snap ring (F).
6. Turn the snap rings in the ring grooves until the end gaps are positioned at the bottom of the piston.