Operation CHARM: Car repair manuals for everyone.
Manuals through 2025 now available!

Our trusted friends have launched a new website named LEMON, which has newer manuals. It also contains all the CHARM manuals.

LEMON is the spiritual successor to CHARM, I recommend you try it!

Link: lemon-manuals.la or lemon-manuals.org.ua

(Some people have issue connecting. LEMON is investigating. For now, use Firefox or change your DNS server)

Or, hide this message: temporarily or permanently

Engine Removal

Engine Removal

Special Tools Required
Front subframe adapter EQS02C000011

NOTE:
- Use fender covers to avoid damaging painted surfaces.
- To avoid damaging the wire and terminals, unplug the wiring connectors carefully while holding the connector portion.
- Mark all wiring and hoses to avoid misconnection. Also, be sure that they do not contact other wiring or hoses, or interfere with other parts,

1. Secure the hood in the wide open position (support rod in the lower hole),
2. Make sure you have the anti-theft code for the radio, then write down the customer's audio presets.
3. Relieve fuel pressure.
4. Disconnect the negative cable from the battery, then disconnect the positive cable.
5. Remove the battery.





6. Remove the intake manifold cover.





7. Disconnect the intake air temperature (IAT) sensor connector (A), remove the breather hose (B), and intake air bypass control thermal valve tube (C), then remove the air cleaner housing (D).





8. Remove the air intake duct.





9. Remove the battery cables (A) from the under-hood fuse/relay box, then remove the harness clamps (B).
10. Disconnect the auxiliary under-hood fuse/relay box connector (C).





11. Remove the ground cable (A).





12. Disconnect the engine control module (ECM)/powertrain control module (PCM) connectors (A) and main wire harness connector (B).





13. Disconnect the accelerator pedal position (APP) sensor connector (A).
14. Remove the harness clamps (B) and grommet (C), then pull the engine wire harness through the bulkhead.
15. Disconnect the fuel line.





16. Remove the evaporative emission (EVAP) canister hose (A) and brake booster vacuum hose (B).
17. Remove the clutch slave cylinder and clutch line bracket (M/T).
18. Remove the shift cable and select cable (M/T).
19. Remove the drive belt.





20. Remove the power steering (P/S) pump without disconnecting the P/S hoses.
21. Remove the radiator cap.
22. Raise the vehicle on the hoist to full height.
23. Remove the front wheels.





24. Remove the splash shield.
25. Loosen the drain plug in the radiator, and drain the engine coolant.
26. Drain the transmission fluid.
27. Drain the engine oil.





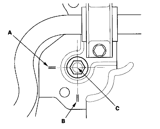
28. Disconnect air fuel ratio (A/F) sensor connector (A) and the secondary heated oxygen sensor (secondary HO2S) connector (B), then remove the three way catalytic converter (TWC) assembly (C).
29. Separate the propeller shaft from the transfer assembly (4WD models).
30. Disconnect the stabilizer links.
31. Disconnect the suspension lower arm ball joints.
32. Remove the driveshafts. Coat all precision finished surfaces with clean engine oil, Tie plastic bags over the driveshaft ends.
33. Remove the shift cable (A/T).





34. Remove the lower hose.





35. Remove the automatic transmission fluid (ATF) filter mounting bolt (A) (A/T).
36. Remove the ATF cooler hoses (B), then plug the ATF cooler hoses and lines (A/T).
37. Lower the vehicle on the hoist.





38. Remove the upper radiator hose (A) and heater hoses (B).





39. Attach the chain hoist to the engine as shown.





40. Remove the transmission mount bracket support bolt/nuts.





41. Remove the upper bracket mounting bolt and nut.
42. Make sure the hoist brackets are positioned properly. Raise the vehicle on the hoist to full height.





43. Remove the rear mount mounting bolts.





44. Remove the front mount bracket mounting bolt.





45. Make the appropriate reference lines at positions (A) and (B) that line up with the center of the subframe mounting bolts (C).





46. Attach the special tool to the subframe with hanging the hook of the special tool over the front of the subframe, then tighten the special tool screw.
47. Raise the jack and line up the slots in the arms with the bolt holes on the corner of the jack base, then attach them with the bolts securely.





48. Remove the four subframe mounting bolts, then lower the subframe.





49. Disconnect the compressor clutch connector (A), then remove the A/C compressor (B) without disconnecting the A/C hoses.
50. Check that the engine/transmission is completely free of vacuum hoses, fuel and coolant hoses, and electrical wiring.
51. Slowly lower the engine/transmission assembly about 150 mm (6 inch). Check once again that all hoses and wires are disconnected from the Engine/transmission.
52. Lower the engine/transmission assembly all the way. Remove the chain hoist from the engine.
53. Remove the engine/transmission assembly from under the vehicle.