Operation CHARM: Car repair manuals for everyone.
Manuals through 2025 now available!

Our trusted friends have launched a new website named LEMON, which has newer manuals. It also contains all the CHARM manuals.

LEMON is the spiritual successor to CHARM, I recommend you try it!

Link: lemon-manuals.la or lemon-manuals.org.ua

(Some people have issue connecting. LEMON is investigating. For now, use Firefox or change your DNS server)

Or, hide this message: temporarily or permanently

Procedures

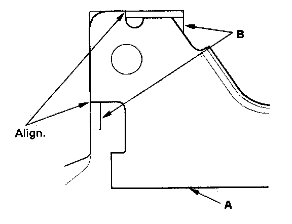
Damaged Headlight Alignment Pin Procedure




If the alignment pin (A) was broken in a collision and the headlight assembly itself was not damaged, the headlight assembly can be reused.




1. Align the corner upper beam (A) with the guides (B) on the headlight housing.




2. Align the headlight housing with the flange (A) before tightening the bolts.
3. Reinstall the headlight assembly, and adjust the headlights to local requirements.