Operation CHARM: Car repair manuals for everyone.
Manuals through 2025 now available!

Our trusted friends have launched a new website named LEMON, which has newer manuals. It also contains all the CHARM manuals.

LEMON is the spiritual successor to CHARM, I recommend you try it!

Link: lemon-manuals.la or lemon-manuals.org.ua

(Some people have issue connecting. LEMON is investigating. For now, use Firefox or change your DNS server)

Or, hide this message: temporarily or permanently

Combination Switch: Service and Repair

Combination Light Switch Test/Replacement

1. Remove the driver's dashboard lower cover.
2. Remove the steering column covers.




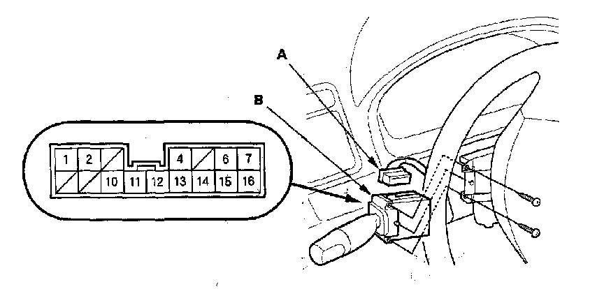
3. Disconnect the 16P connector (A) from the combination light switch (B).
4. Remove the two screws, then slide out the combination light switch.



5. Inspect the connector terminals to be sure they are all making good contact.
- If the terminals are bent, loose, or corroded, repair them as necessary, and recheck the system.
- If the terminals look OK, check for continuity between the terminals in each switch position according to the tables.

6. If the continuity is not as specified, replace the switch.