Operation CHARM: Car repair manuals for everyone.
Manuals through 2025 now available!

Our trusted friends have launched a new website named LEMON, which has newer manuals. It also contains all the CHARM manuals.

LEMON is the spiritual successor to CHARM, I recommend you try it!

Link: lemon-manuals.la or lemon-manuals.org.ua

(Some people have issue connecting. LEMON is investigating. For now, use Firefox or change your DNS server)

Or, hide this message: temporarily or permanently

Electronic Control System

Electronic Control System

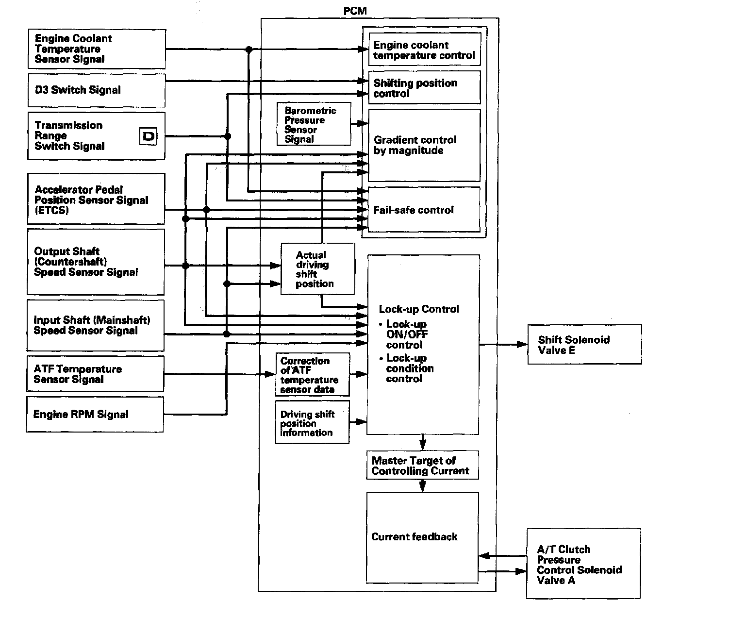
Functional Diagram
The electronic control system consists of the powertrain control module (PCM), sensors, and solenoid valves. Shifting and lock-up are electronically controlled for comfortable driving under all conditions.

The PCM receives input signals from the sensors, switches, and other control units, processes data, and outputs signals for the engine control system and A/T control system. The A/T control system includes shift control, grade logic control, clutch pressure control, and lock-up control.

The PCM switches the shift solenoid valves and the A/T clutch pressure control solenoid valves to control shifting transmission gears and lock-up torque converter clutch.




Electronic Controls Location:





Shift Control
The PCM instantly determines which gears should be selected by various signals sent from sensors and switches, and it actuates the shift solenoid valves A, B, C, D, and E to control shifting.

Also, a grade logic control system has been adopted to control shifting in the D position. The PCM compares actual driving conditions with memorized driving conditions, based on the input from the accelerator pedal position sensor, the engine coolant temperature sensor, the barometric pressure sensor, the brake pedal position switch signal, and the shift lever position signal, to control shifting while the vehicle is ascending or descending a slope.





D Position D3 Driving Mode Control





This automatic transmission is provided with the D3 driving mode in the D position. The D Position has two modes; general driving mode (shifts gears automatically 1st through 5th), and the D3 driving mode (shifts gears automatically 1st through 3rd). The transmission switches the mode with pushing the D3 switch on the shift lever end.





The transmission switches into the D3 driving mode in the D position by pushing the D3 switch, the D3 indicator next to the D indicator in the gauge assembly comes on. In the D3 driving mode, D3 driving made is canceled by pushing the D3 switch, and the D3 indicator goes off. Also, the D3 driving mode is canceled when the ignition switch is turned off. When the shift lever is moved out of the D position in the D3 driving mode, the D3 indicator goes off, but the transmission returns into the D3 driving mode when returning the shift lever into the D position, and the D3 indicator comes on.

Shift Solenoid Valve ON-OFF Operation





The PCM turns the shift solenoid valves A, B, C, D, and E ON and OFF to control transmission gear shifting. The combination of driving signals to shift solenoid valves A, B, C, D, and E are shown in the table.

Grade Logic Control: Ascending Control





When the PCM determines that the vehicle is climbing a hill in the D position, the system extends the engagement area of 2nd, 3rd, and 4th gears to prevent the transmission from frequently shifting between 2nd and 3rd gears, between 3rd and 4thgears, and between 4th and 5th gears, so the vehicle can run smooth and have more power when needed.

Shift schedules stored in the PCM between 2nd and 3rd gears, between 3rd and 4th gears, and between 4th and 5th gears, enable it to automatically select the most suitable gear according to the magnitude of a gradient.

Grade Logic Control: Descending Control





When the PCM determines that the vehicle is going down a hill in the D position, the shift-up speed from 4th to 5th gear, from 3rd to 4th gear, and from 2nd to 3rd gear (when the throttle is closed) becomes faster than the set speed for flat road driving to widen the 4th gear, 3rd gear, and 2nd gear driving area. This, in combination with engine braking from the deceleration lock-up, achieves smooth driving when the vehicle is descending, There are three descending modes with different 4th gear driving areas, 3rd gear driving areas, and 2nd gear driving areas according to the magnitude of a gradient stored in the PCM. When the vehicle is in 5th gear or 4th gear, and you are decelerating when you are applying the brakes on a steep hill, the transmission will downshift to lower gear. When you accelerate, the transmission will then return to a higher gear.

Clutch Pressure Control





The PCM actuates the A/T clutch pressure control solenoid valves A, B, and C to control the clutch pressure. When shifting between lower and higher gears, the clutch pressure regulated by the A/T clutch pressure control solenoid valves A, B, and C engages and disengages the clutch smoothly.

The PCM receives input signals from the various sensors and switches, processes data, and outputs a current to the A/T clutch pressure control solenoid valves A, B, and C.

Lock-up Control





The shift solenoid valve E controls the hydraulic pressure to switch the lock-up shift valve and lock-up ON and OFF. The PCM actuates the shift solenoid valve E and the A/T clutch pressure control solenoid valve A to control the torque converter clutch lock-up. When the shift solenoid valve E is turned ON, the lock-up condition starts. The A/T clutch pressure control solenoid valve A regulates and apply the hydraulic pressure to the lock-up control valve to control the amount of the lock-up. The lock-up mechanism operates in 2nd, 3rd, 4th, and 5th gears in the D position, and 2nd and 3rd gears in the D position D3 driving mode.

PCM Electrical Connections:




PCM Inputs and Outputs:




PCM Inputs and Outputs:




PCM Inputs and Outputs: