Operation CHARM: Car repair manuals for everyone.
Manuals through 2025 now available!

Our trusted friends have launched a new website named LEMON, which has newer manuals. It also contains all the CHARM manuals.

LEMON is the spiritual successor to CHARM, I recommend you try it!

Link: lemon-manuals.la or lemon-manuals.org.ua

(Some people have issue connecting. LEMON is investigating. For now, use Firefox or change your DNS server)

Or, hide this message: temporarily or permanently

Shift Cable: Service and Repair

Shift Cable Replacement
1. Raise the front of the vehicle, or lift the vehicle up, and make sure it is securely supported.
2. Remove the driver's dashboard lower cover, and the instrument panel.
3. Shift the shift lever to the R position.





4. Slide the lock tab (A) down on the shift cable end holder (B).
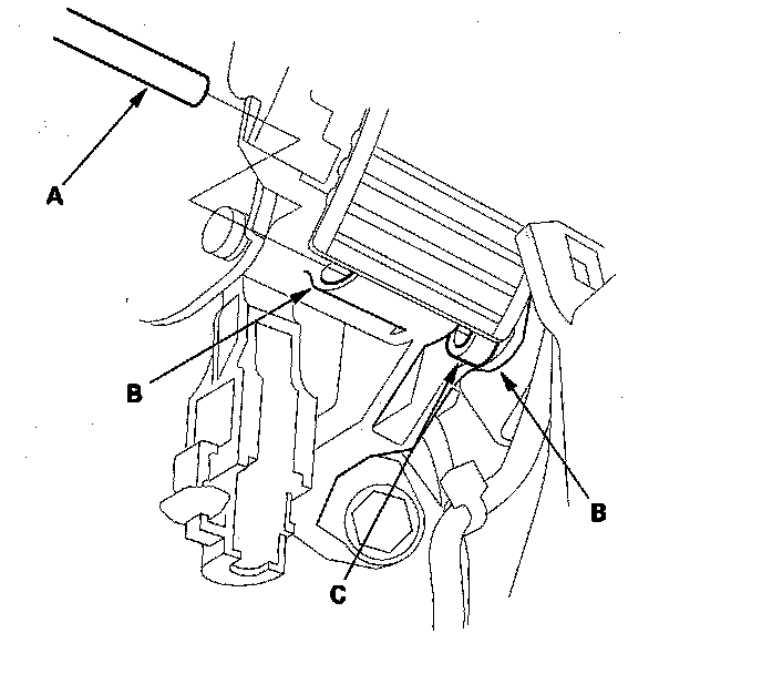
5. Grasp the shift cable lock (C) in the middle (D) with needle-nose pliers (E), and remove it from the shift cable end and shift cable end holder.

NOTE: Do not pry the shift cable lock with a screwdriver, it may damage the shift cable end holder.





6. Separate the shift cable end (A) from the shift cable holder (B).





7. Rotate the socket holder (A) on the shift cable (B) a quarter turn; the tab (C) on the socket holder will be in the opening (D) of the socket holder bracket (E). Then slide the holder to remove the shift cable from the socket holder bracket.





8. Remove the grommet under the body, and pull out the shift cable.





9. 4WD model: Replace the shift cable.
- 1 Remove the bolts (A) securing the shift cable bracket (B), then remove the shift cable cover (C).
- 2 Remove the spring clip (D) and control pin (E), then separate the shift cable (F) from the control lever (G).
- 3 Remove the bolts (H) securing the shift cable bracket (I), then remove the shift cable bracket (I) from the shift cable.
- 4 Replace the shift cable, and insert it through the grommet hole. Do not bend the shift cable excessively. Face the dot (J) on the shift cable (F) down, then install the shift cable bracket (I) on the shift cable.
- 5 Attach the shift cable end (K) to the control lever (G), then insert the control pin (E) into the control lever hole through the shift cable end. Secure the control pin with the spring clip (D).
- 6 Secure the shift cable bracket (B) with the bolts (A), and install the shift cable cover (C), but do not tighten the bolts.
- 7 Tighten the front bolt (L) on the cover first, then the lower bolt (M), and lastly the middle bolt (N).





10. 2WD model: Replace the shift cable.
- 1 Remove the shift cable cover (A).
- 2 Remove the spring clip (B) and control pin (C), then separate the shift cable (D) from the control lever (E).
- 3 Remove the bolts securing the shift cable bracket (F).
- 4 Replace the shift cable, and insert it through the grommet hole. Do not bend the shift cable excessively.
- 5 Attach the shift cable end (D) to the control lever (E), then insert the control pin (C) into the control lever hole through the shift cable end, and secure the control pin with the spring clip (B).
- 6 Secure the shift cable bracket (F) with the bolt, and install the shift cable cover (A), but do not tighten the bolts.
- 7 Tighten the front bolt (G) on the cover first, then the lower bolt (H), and lastly the middle bolt (I).





11. Install the shift cable bracket (A) on the body, then install the grommet (B) in its hole (C).
12. Turn the ignition switch ON (II), and verify that the R position indicator comes on.





13. If necessary, push the shift cable until it stops, then release it. Pull the shift cable back one step so that the shift cable is in R. Do not hold the shift cable guide (A) to adjust the shift cable (B).
14. Turn the ignition switch OFF.





15. Insert a 6.0 mm (0.24 inch) pin (A) into the positioning holes (B) on the shift lever bracket base and through the positioning hole (C) on the shift lever. The shift lever is secured in the R position.





16. Rotate the socket holder (A) on the shift cable (B) to face the tab (C) on the holder opposite to the opening (D) in the socket holder bracket (E). Align the holder with the opening in the bracket, then slide the holder into the bracket. Rotate the holder a quarter turn to secure the shift cable. Do not install the shift cable by twisting the shift cable guide (F) and damper (G).





17. Install the shift cable end (A) in the shift cable end holder (B). Keep the shift cable end and end holder free of grease.





18. Install the new shift cable lock (A) to secure the shift cable end and shift cable end holder, then push the lock tab (B) up until it stops to lock the joint.
19. Remove the 6.0 mm (0.24 inch) pin that was installed to hold the shift lever.
20. Move the shift lever to each gear, and verify that the A/T gear position indicator follows the transmission range switch.
21. Allow the wheels to rotate freely.
22. Start the engine, and check the shift lever operation through all gears.
23. Install the instrument panel and the driver's dashboard lower cover.