Operation CHARM: Car repair manuals for everyone.
Manuals through 2025 now available!

Our trusted friends have launched a new website named LEMON, which has newer manuals. It also contains all the CHARM manuals.

LEMON is the spiritual successor to CHARM, I recommend you try it!

Link: lemon-manuals.la or lemon-manuals.org.ua

(Some people have issue connecting. LEMON is investigating. For now, use Firefox or change your DNS server)

Or, hide this message: temporarily or permanently

Fluid - Differential: Service and Repair

Differential Fluid Inspection and Replacement
1. With the vehicle on level ground, inspect the differential fluid with the ignition switch turned to LOCK (0).
2. Use solvent and a brush to wash off any oil and dirt from the differential fluid inspection oil filler plug.





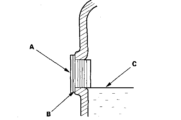
3. Remove the oil filler plug (A) and the sealing washer (B), then check the condition of the fluid, and make sure the fluid is at the proper level (C).
4. The fluid level must be up to the fill hole. If it is below the hole, add the differential fluid until it runs out, then reinstall the oil filler plug with a new sealing washer.





5. If the fluid is dirty, remove the drain plug (A) and the sealing washer (B) then drain the fluid.
6. Clean the drain plug, then reinstall it with a new sealing washer, and refill the differential with the differential fluid to the proper level.

NOTE: If you disassemble the differential, check the fluid level again after the 4WD system check is finished. Add fluid if necessary.

Fluid Capacity
1.2 L (1.3 US qt) at fluid change
1.4 L (1.5 US qt) at overhaul
Recommended fluid: Honda Dual Pump Fluid (P/N 08200-9002)

7. Reinstall the oil filler plug with a new sealing washer.