Operation CHARM: Car repair manuals for everyone.
Manuals through 2025 now available!

Our trusted friends have launched a new website named LEMON, which has newer manuals. It also contains all the CHARM manuals.

LEMON is the spiritual successor to CHARM, I recommend you try it!

Link: lemon-manuals.la or lemon-manuals.org.ua

(Some people have issue connecting. LEMON is investigating. For now, use Firefox or change your DNS server)

Or, hide this message: temporarily or permanently

A/T Clutch Pressure Control Solenoid Valve A Test

A/T Clutch Pressure Control Solenoid Valve A Test





1. Connect the HDS to the DLC (A).
2. Choose Clutch Pressure Control (Linear) Solenoid A in Miscellaneous Test Menu on the HDS.
3. Test A/T clutch pressure control solenoid valve A with the HDS.
4. Follow the instructions indicated on the HDS by the test result. If the HDS has not determined the cause of the failure, remove A/T clutch pressure control solenoid A and test.
5. Remove the air cleaner housing.





6. Disconnect the A/T clutch pressure control solenoid valve A connector.
7. Measure A/T clutch pressure control solenoid valve A resistance at the solenoid valve A connector.
Standard: 3 - 10 Ohms
8. If the resistance is out of the standard, replace A/T clutch pressure control solenoid valve A.
9. Connect the battery positive terminal to A/T clutch pressure control solenoid valve connector terminal No. 1, and connect the battery negative terminal to terminal No. 2. A clicking sound should be heard.
10. If no sound is heard, remove A/T clutch pressure control solenoid valve A, and check the valve movement.





11. Remove the mounting bolts and A/T clutch pressure control solenoid valve A.
12. Remove the ATF pipe (B), ATF joint pipes (C), O-rings (D), and gasket (E).
13. Check the fluid passage of the A/T clutch pressure control solenoid valve for dust or dirt, and clean the passage.





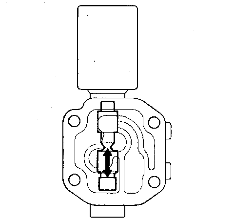
14. Connect the battery positive terminal to A/T clutch pressure control solenoid valve connector terminal No. 1, and connect the battery negative terminal to the terminal No. 2. Make sure the A/T clutch pressure control solenoid valve moves.
15. Disconnect one of the battery terminals, and check valve movement.

NOTE: You can see valve movement through the fluid passage in the mounting surface of the A/T clutch pressure control solenoid valve A body.

16. If the valve binds or moves sluggishly, or if the solenoid valve does not operate, replace A/T clutch pressure control solenoid valve A.
17. Install the new gasket on the transmission housing, and install the ATF pipe and ATF joint pipes.
18. Install the new O-rings over the ATF joint pipes.
19. Install A/T clutch pressure control solenoid valve A.
20. Check the A/T clutch pressure control solenoid valve A connector for rust, dirt, or oil, then connect the connector securely.
21. Install the air cleaner housing.