Operation CHARM: Car repair manuals for everyone.
Manuals through 2025 now available!

Our trusted friends have launched a new website named LEMON, which has newer manuals. It also contains all the CHARM manuals.

LEMON is the spiritual successor to CHARM, I recommend you try it!

Link: lemon-manuals.la or lemon-manuals.org.ua

(Some people have issue connecting. LEMON is investigating. For now, use Firefox or change your DNS server)

Or, hide this message: temporarily or permanently

System Description

System Description




MICU Control Functions Index

The MICU (built into the under-dash fuse/relay box) is one of the B-CAN components. The MICU controls many systems related to the body controller area and a security system, and also works as a gateway to diagnose the other B-CAN connected ECUs with the HDS. Refer to each system circuit diagram for details.

The MICU also controls the function of these circuits:

- Entry lights control (map lights and ceiling light)
- Exterior lights control (including the daytime running lights control)
- Horn
- Interlock system
- Key-in reminder
- Keyless entry
- Lights-on reminder
- Power door locks
- Seat belt reminder
- Security alarm
- Turn signal/hazard flasher
- Wiper/washer




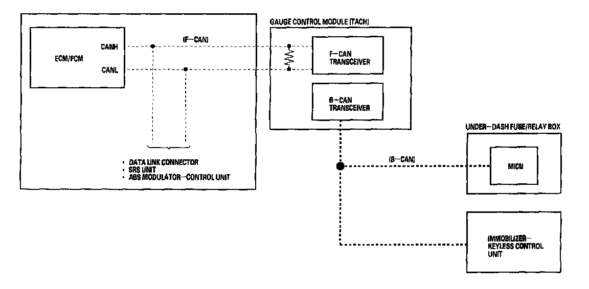
Body Controller Area Network (B-CAN) and Fast Controller Area Network (F-CAN)

The body controller area network (B-CAN) and the fast controller area network (F-CAN) share information between multiple electronic control units (ECUs). B-CAN communication moves at a slower speed (33.33 kbps) for convenience related items and for other functions. F-CAN information moves at a faster speed (500 kbps) for "real time" functions such as fuel and emissions data. To allow both systems to share information, the gauge control module translates information from B-CAN to F-CAN and from F-CAN to B-CAN.

- The single wire method is used between the units not requiring the communication to move at a fast speed.
- Using a single wire method reduces the number of the wires used on the body controller area network.




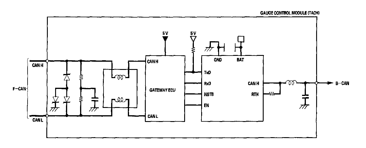
Gateway Function

The gauge control module (tach) acts as a gateway to allow both systems to share information, the gauge control module translates information from B-CAN to F-CAN and from F-CAN to B-CAN.







Network "Loss of Communication" Error Checking Function

The ECUs on the CAN circuit send messages to each other. If there are any malfunctions on the network, the odo/trip display on the gauge control module can indicate the error messages by entering the gauge self-diagnostic function.

NOTE: For further information about Error indication, refer to the gauge control module self-diagnostic function.




Self-diagnostic Function

By connecting the HDS to the data link connector (DLC), the HDS can retrieve the diagnostic results from the MICU via a diagnostic line called K-LINE. The K-LINE is distinguished from the CAN line, and connected to the CAN related ECUs. The MICU is a gateway between the HDS and B-CAN related ECUs, and sends B-CAN diagnostic results to the HDS. When performing a function test with the HDS, the HDS sends an output signal through the K-LINE to the MICU. The MICU either relays the request to another ECU, or commands the function its self.

Wake-up and Sleep Function

The multiplex integrated control system has "wake-up" and "sleep" functions to decrease parasitic draw on the battery when the ignition switch is OFF.

- In the sleep mode, the MICU stops functioning (communication and CPU control) when it is not necessary for the system to operate.
- As soon as any operation is requested (for example, a door is unlocked), the related control unit in the sleep mode immediately wakes up and begins to function.
- When the ignition switch is turned OFF, and the driver's door is opened, then closed, there is a delay about 40 seconds before the control unit goes from the wake-up mode to the sleep mode.
- The sleep mode will not function if any door is opened or if a key is in the ignition.
- The draw is reduced from 200 mA to less than 35 mA when in the sleep mode.

NOTE: Sleep and Wake-up Mode Test.

Fail-safe Function

To prevent improper operation, the MICU has a fail-safe function. In the fail-safe mode, the output signal is fixed when any part of the system malfunctions (for example, a faulty control unit or communication line). Each control unit has a hardware fail-safe function that fixes the output signal when there is a CPU malfunction, and a software fail-safe function that ignores the signal from a malfunctioning control unit, which allows the system to operate normally.

Hardware Fail-safe Control

Fail-safe function
When a CPU problem or a abnormal power supply voltage is detected, the MICU moves to the hardware fail-safe mode, and each system output load is set to the pre-programmed fail-safe value.

Software Fail-safe Control

When any of the data from the B-CAN circuit cannot be received within a specified time, or an unusual combination of the data is recognized, the MICU moves to the software fail-safe mode. The data that cannot be received is forced to a pre-programmed value.




Power Supply Voltage Monitoring Function

The MICU monitors the power supply voltage (back-up voltage). If the voltage goes below 10 V, the MICU sends a MICU message and will not store DTCs.




Entry Lights Control System

The MICU controls the ceiling light ON/OFF and dimming based upon the input signals from each switch.




Lighting System (Headlights, Parking Lights, Side Marker Lights, License Plate Lights, and Taillights

The MICU contains the relay circuits of the headlight high/low beam and taillights, and controls the lighting system ON/OFF based upon the input signals from the combination light switch.




Daytime Running Lights

The MICU controls the exterior lights as a daytime running lights based upon the input signals from the each switch.




Turn Signal/Hazard Flasher

The MICU controls the turn signal/hazard flasher based upon the input signals from the turn signal and hazard warning switches.




Power Door Locks (Vehicle Speed Sense)

The MICU controls the door lock actuators based upon the B-CAN and input signals.




Power Door Locks (Normally LOCK/UNLOCK Operation)

The MICU controls the door lock actuators based upon the input signals of each switch.




Door Lock Response Operation

The MICU controls the door lock actuators based upon the B-CAN signals.




Power Window Key-off Operation

The MICU controls the power windows key-off operation based upon the input signals.




Keyless Entry System

The MICU controls the door lock actuators based upon the input signals of each switch and the B-CAN signals.




Keyless PANIC

The MICU controls the keyless PANIC based upon the B-CAN signals.




Security Alarm System

The MICU controls the lighting system and horn based upon the input signals of each switch and the B-CAN signals.




Key-in Reminder

The MICU controls the door lock actuators based upon the IG1, the driver's door switch, and the driver's door lock knob switch signals.




Key Interlock (A/T)

The MICU controls the key interlock solenoid based upon the IG1, the transmission range switch, and the park-pin switch signals.




Answer Back Response Operation

The MICU controls the lighting system and horn based upon the B-CAN signals.




Wiper/Washer

The MICU controls the wiper motor and the washer motor based upon the IG1 and the wiper/washer switch signals.




Collision Detection Signal (CDS)

The MICU controls the door lock actuators based upon the IG1 and the B-CAN signals.













HDS Inputs and Commands

Certain inputs happen so quickly that the HDS cannot update fast enough. Hold the switch that is being tested while monitoring the Data List.
This should give the HDS time to update the signal on the Data List.
Because the HDS software is updated to support the release for newer vehicles it is not uncommon to see system function tests that are not supported.
Make sure that the most current software is loaded.