Operation CHARM: Car repair manuals for everyone.
Manuals through 2025 now available!

Our trusted friends have launched a new website named LEMON, which has newer manuals. It also contains all the CHARM manuals.

LEMON is the spiritual successor to CHARM, I recommend you try it!

Link: lemon-manuals.la or lemon-manuals.org.ua

(Some people have issue connecting. LEMON is investigating. For now, use Firefox or change your DNS server)

Or, hide this message: temporarily or permanently

Antilock Brakes / Traction Control Systems: Description and Operation

System Description

ABS Modulator-control Unit Inputs and Outputs for 47P Connector:




ABS Modulator-control Unit Inputs and Outputs for 47P Connector:





ABS Modulator-control Unit Inputs and Outputs for 47P Connector

Features








When the brake pedal is pressed during driving, the wheels can lock before the vehicle comes to a stop. In such an event, the maneuverability of the vehicle is reduced if the front wheels are locked, and the stability of the vehicle is reduced if the rear wheels are locked, creating an extremely unstable condition. The ABS precisely controls the slip rate of the wheels to ensure maximum grip force from the tires, thereby ensuring the maneuverability and stability of the vehicle.

The ABS calculates the slip rate of the wheels based on the vehicle speed and the wheel speed, then it controls the brake fluid pressure to reach the target slip rate.

ABS Control Unit
Main Control





The ABS control unit detects the wheel speed based on the wheel sensor signal it received, then it calculates the vehicle speed based on the detected wheel speed. The control unit detects the vehicle speed during deceleration based on the rate of deceleration.

The ABS control unit calculates the slip rate of each wheel, and transmits the control signal to the modulator unit solenoid valve when the slip rate is high.

The hydraulic control has three modes: Pressure reducing, pressure retaining, and pressure intensifying.

Electronic Brake Distribution (EBD) Control
The electronic brake distribution (EBD) function helps control vehicle braking by adjusting the rear brake force before the ABS operates. Based on wheel sensor signals, the ABS control unit uses the modulator to control the rear brakes individually. When the rear wheel speed is less than the front wheel speed, the ABS control unit retains the current rear brake fluid pressure by closing the inlet valve in the modulator. As the rear wheel speed increases and approaches the front wheel speed, the control unit increases the rear brake fluid pressure by momentarily opening the inlet valve. This whole process is repeated very rapidly. While this is happening, there may be kickback at the brake pedal.

During self-diagnosis, if the ABS control unit detects a problem that affects the EBD, it turns on the brake system indicator and the ABS indicator.

Self-diagnosis Function
1. The ABS control unit is equipped with a CPU and a monitor IC. They check each other for problems.
2. The CPU checks the system circuits.
3. The ABS control unit turns on the ABS and possibly the brake system indicator when the unit detects a problem, and the unit stops ABS operation.
4. The self-diagnosis can be classified into these two categories:
^ Initial diagnosis
^ Regular diagnosis

On-board Diagnosis Function
The ABS can be diagnosed with the HDS.

The ALB Checker cannot be used with this system. For air bleeding, and checking wheel sensor signals, use the HDS.

See the HDS Help menu for specific operating instructions.

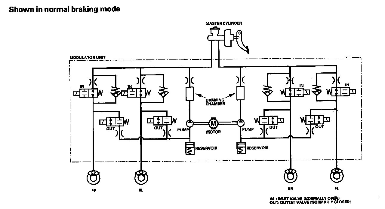
Modulator Unit





The ABS modulator consists of inlet solenoid valves, outlet solenoid valves, reservoir, pump, and the pump motor. The modulator reduces the caliper fluid pressure directly. It is a circulating-type modulator because the brake fluid circulates through the caliper, reservoir, and the master cylinder. The hydraulic control has three modes: Normal braking, pressure retaining, and pressure reducing. The hydraulic circuit is an independent four channel type, one channel for each wheel.

Normal braking mode: Inlet valve open, outlet valve closed: Master cylinder fluid is pumped out to the caliper.
Pressure retaining mode: Inlet valve closed, outlet valve closed: Caliper fluid is retained by the inlet valve and outlet valve.
Pressure reducing mode: Inlet valve closed, outlet valve open: Caliper fluid flows through the outlet valve to the reservoir. When in pressure reducing mode, the pump motor is ON. The reservoir fluid is pumped out by the pump, through the damping chamber, to the master cylinder. When stopping ABS operation, the pump motor is OFF.

Wheel Sensors





The wheel sensors are the magnetic contactless type. The wheel sensors detect changing of magnetic polarity on the magnetic encoder contained inside the wheel bearings. The ABS control unit calculates the wheel speed based on signals received from the wheel sensor.

NOTE: The wheel bearings are directional.

When the wheel speed drops sharply below the vehicle speed, the outlet valve opens momentarily to reduce the caliper fluid pressure. The pump motor starts at this time. As the wheel speed is restored, the inlet valve opens momentarily to increase the caliper fluid pressure.