Operation CHARM: Car repair manuals for everyone.
Manuals through 2025 now available!

Our trusted friends have launched a new website named LEMON, which has newer manuals. It also contains all the CHARM manuals.

LEMON is the spiritual successor to CHARM, I recommend you try it!

Link: lemon-manuals.la or lemon-manuals.org.ua

(Some people have issue connecting. LEMON is investigating. For now, use Firefox or change your DNS server)

Or, hide this message: temporarily or permanently

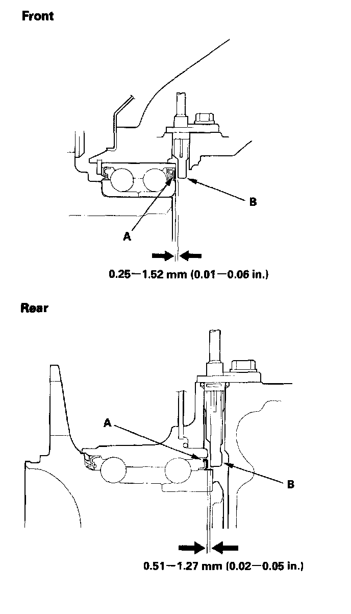
Wheel Speed Sensor: Testing and Inspection

Wheel Sensor Inspection
1. Clean the encoder, and make sure no metal or other debris is stuck to the encoder surface.
2. Check the magnetic encoder (A) for damage. If cracked or damaged, replace the encoder.





3. Measure the air gap between the wheel sensor (B) and the magnetic encoder while rotating the encoder.
Standard:
Front: 0.25 - 1.52 mm (0.01 - 0.06 inch)
Rear: 0.51 - 1.27 mm (0.02 - 0.05 inch)