Operation CHARM: Car repair manuals for everyone.
Manuals through 2025 now available!

Our trusted friends have launched a new website named LEMON, which has newer manuals. It also contains all the CHARM manuals.

LEMON is the spiritual successor to CHARM, I recommend you try it!

Link: lemon-manuals.la or lemon-manuals.org.ua

(Some people have issue connecting. LEMON is investigating. For now, use Firefox or change your DNS server)

Or, hide this message: temporarily or permanently

Overhaul






Starter Overhaul

Armature Inspection and Test

1. Remove the starter.
2. Disassemble the starter as shown at the beginning of this procedure.




3. Inspect the armature for wear or damage from contact with the permanent magnet If there is wear or damage, replace the armature.




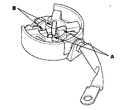
4. Check the commutator (A) surface If the surface is dirty or burnt, resurface with emery cloth or a lathe within the following specifications, or recondition with #500 or # 600 sandpaper (B).




5. Check the commutator diameter If the diameter is below the service limit, replace the armature.




6. Measure the commutator (A) runout
- If the commutator runout is within the service limit, check the commutator for carbon dust or brass chips between the segments.
- If the commutator runout is not within the service limit, replace the armature.




7. Check the mica depth (A). If the mica is too high (B), undercut the mica with a hacksaw blade to the proper depth. Cut away all the mica (C) between the commutator segments. The undercut should not be too shallow, too narrow, or V-shaped (D).




8. Check for continuity between the segments of the commutator. If there is an open circuit between any segments, replace the armature.




9. Place the armature (A) on an armature tester (B). Hold a hacksaw blade (C) on the armature core. If the blade is attracted to the core or vibrates while the core is turned, the armature is shorted. Replace the armature.




10. Check for continuity between the commutator (A) and armature coil core (B), and between the commutator and armature shaft (C). If there is continuity, replace the armature.

Starter Brush Inspection




11. Measure the brush length. If it is not within the service limit, replace the brush holder assembly.




12. Check for continuity between the (+) brushes (A) and (-) brushes (B). If there is continuity, replace the brush holder assembly.




13. Install the brush into the brush holder, and set the brush holder in the housing (A).

NOTE: To seat new brushes, slip a strip of # 500 or # 600 sandpaper, with the grit side up, between the commutator and each brush, and smoothly rotate the armature. The contact surface of the brushes will be sanded to the same contour as the commutator.

14. While squeezing a spring (B), insert it in the brush holder, and push it until it bottoms.
Repeat this for the other three springs, then install the cover (C).




15. Install the starter end cover (A) to retain the brush holder (B).

Overrunning Clutch Inspection




16. Slide the overrunning clutch (A) along the shaft. Replace it if it does not slide smoothly.
17. Hold the overrunning clutch, and turn the drive gear (B) in the direction shown to be sure it turns freely. Also make sure the drive gear locks in the opposite direction. If it does not lock in either direction or it locks in both directions, replace it.
18. If the starter drive gear is worn or damaged, replace the overrunning clutch assembly; the gear is not available separately. Check the condition of the torque converter ring gear to see if the starter drive gear teeth are damaged.
19. Reassemble the starter in the reverse order of disassembly.