Operation CHARM: Car repair manuals for everyone.
Manuals through 2025 now available!

Our trusted friends have launched a new website named LEMON, which has newer manuals. It also contains all the CHARM manuals.

LEMON is the spiritual successor to CHARM, I recommend you try it!

Link: lemon-manuals.la or lemon-manuals.org.ua

(Some people have issue connecting. LEMON is investigating. For now, use Firefox or change your DNS server)

Or, hide this message: temporarily or permanently

Electronic Control System

Electronic Control System

Functional Diagram
The electronic control system consists of the powertrain control module (PCM), sensors, and solenoid valves. Shifting and lock-up are electronically controlled for comfortable driving under all conditions.

The PCM receives input signals from the sensors, switches, and other control units, processes data, and outputs signals for the engine control system and A/T control system. The A/T control system includes shift control, grade logic control, clutch pressure control, and lock-up control. The PCM switches the shift solenoid valves and the A/T clutch pressure control solenoid valves to control shifting transmission gears and lock-up torque converter clutch.





Electrical Control Locations





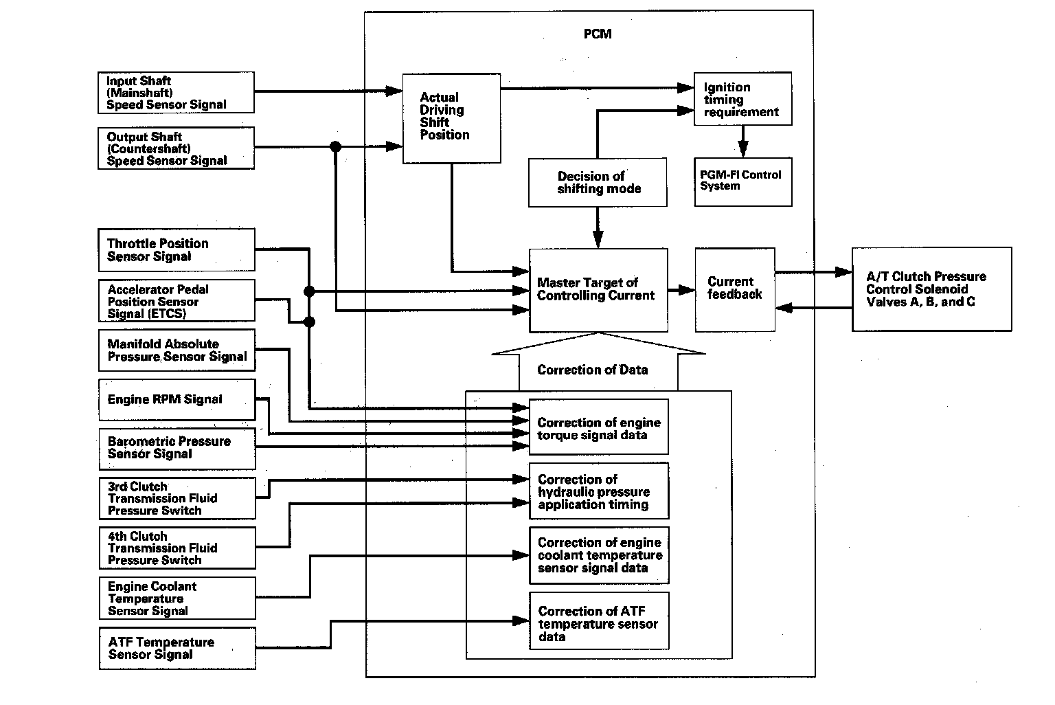
Shift Control The PCM instantly determines which gear should be selected by various signals sent from sensors and switches, and it actuates the shift solenoid valves A, B, and C to control shifting.

Also, the grade logic control system has been adopted to control shifting in the D position. The PCM compares actual driving conditions with memorized driving conditions, based on the input from the throttle position sensor, the engine coolant temperature sensor, the barometric pressure sensor, the brake pedal position switch signal, and the shift lever position signal, to control shifting while the vehicle is ascending or descending a slope.





D position D3 Driving Mode Control
This automatic transmission is provided with the D3 driving mode in the D position. The D position has two modes; general driving mode (shifts gears automatically 1st through 5th), and the D3 driving mode (shifts gears automatically 1st through 3rd). The transmission switches modes by pushing the D3 switch on the shift lever knob in the D position.





The transmission switches into the D3 driving mode in the D position by pushing the D3 switch, the D3 indicator next to the D indicator in the gauge control module comes on. D3 driving mode is cancelled by pushing the D3 switch, and the D3 indicator goes off. Also, the D3 driving mode is cancelled when the ignition switch is turned off. When the shift lever is moved out of the D position in the D3 driving mode, the D3 indicator goes off, but the transmission returns into the D3 driving mode when returning the shift lever into the D position, and the D3 indicator comes on.





Shift Solenoid Valve ON-OFF Operation
The PCM turns on and off the shift solenoid valves A, B, and C to control shifting of the transmission gears. The combination of driving signals to shift solenoid valves A, B, and C are shown in the table.





Grade Logic Control: Ascending Control
When the PCM determines that the vehicle is climbing a hill in the D position, the system extends the engagement area of 2nd gear, 3rd gear, and 4th gear to prevent the transmission from frequently shifting between 2nd and 3rd gears, between 3rd and 4th gears, and between 4th and 5th gears, so the vehicle can run smooth and have more power when, needed.

NOTE: Shift commands stored in the PCM between 2nd and 3rd gears, between 3rd and 4th gears, and between 4th and 5th gears, enable the PCM to automatically select the most suitable gear according to the magnitude of a gradient.





Grade Logic Control: Descending Control
When the PCM determines that the vehicle is going down a hill in the D position, the shift-up speed from 4th to 5th gear, 3rd to 4th gear, and from 2nd to 3rd (when the throttle is closed) becomes faster than the set speed for flat road driving to widen the 4th gear, 3rd gear, and 2nd gear driving areas. This, in combination with engine braking from the deceleration lock-up, achieves smooth driving when the vehicle is descending. There are three descending modes with different 4th gear driving areas, 3rd gear driving areas and 2nd gear driving areas according to this magnitude of a gradient stored in the PCM. When the vehicle is in 5th or 4th gear and you are decelerating while applying the brakes on a steep hill, the transmission will downshift to a lower gear. When you accelerate, the transmission will then return to a higher gear.





Deceleration Control
When the vehicle goes around a corner and needs to decelerate first and then accelerate, the PCM sets the data for deceleration control to reduce the number of times the transmission shifts. When the vehicle is decelerating from speeds above 27 mph (43 km/h), the PCM shifts the transmission from 5th or 4th to 2nd earlier than normal to cope with upcoming acceleration.

Clutch Pressure Control
The PCM actuates the A/T clutch pressure control solenoid valves A, B, and C to control the clutch pressure. When shifting between lower and higher gears, the clutch pressure regulated by the A/T clutch pressure control solenoid valves A, B, and C engages and disengages the clutch smoothly. The PCM receives input signals from the various sensors and switches, performs processing data, and outputs a current to the A/T clutch pressure control solenoid valves A, B, and C.





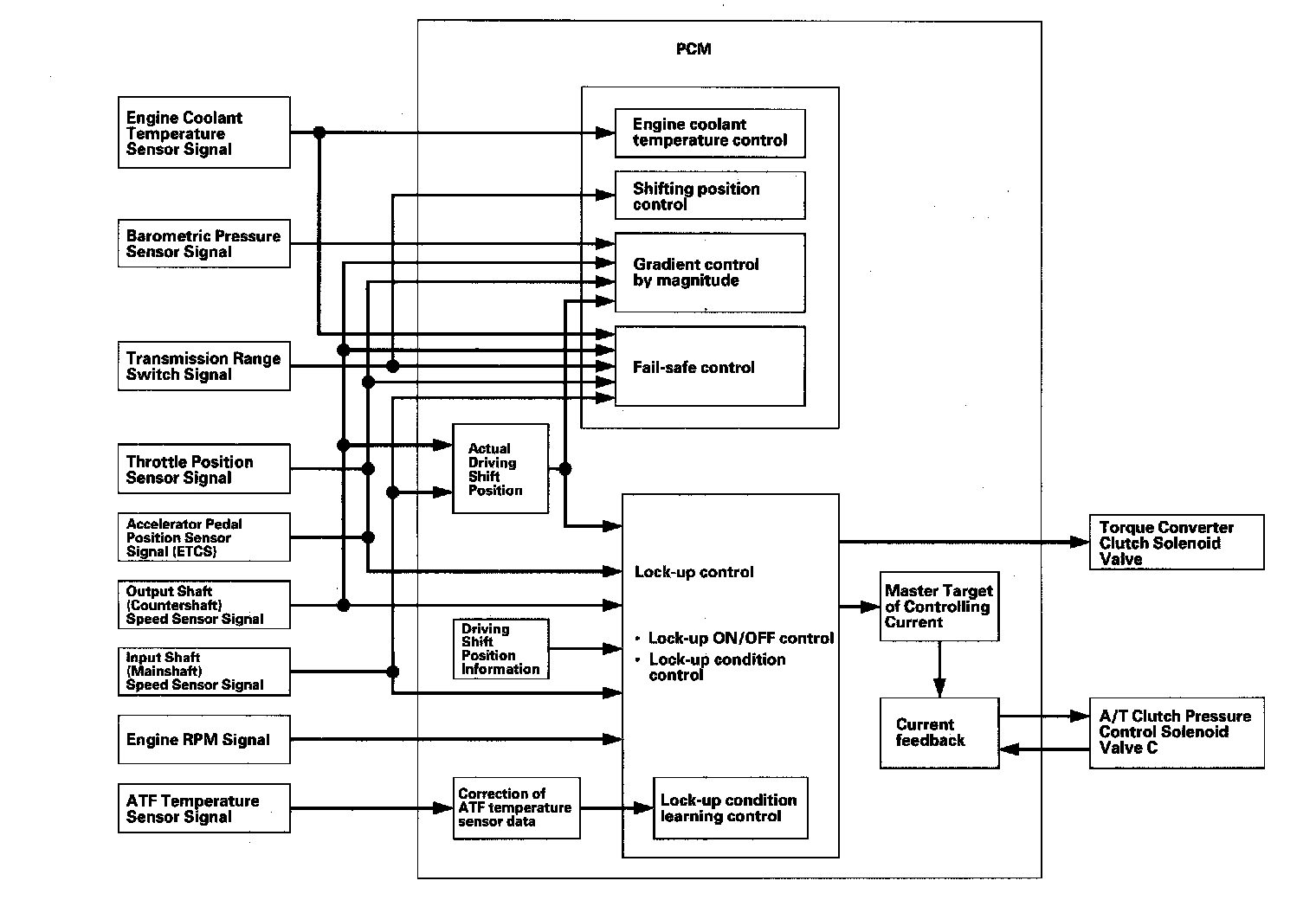
Lock-up Control
The torque converter clutch solenoid valve controls the hydraulic pressure to switch the lock-up shift valve and lock-up ON and OFF. The PCM actuates the torque converter clutch solenoid valve and the A/T clutch pressure control solenoid valve to start lock-up. The A/T clutch pressure control solenoid valve C applies and regulates hydraulic pressure to the lock-up control valve to control the amount of the lock-up. The lock-up mechanism operates in the D position (2nd, 3rd, 4th, and 5th), and in the D position D3 driving mode (2nd and 3rd).




PCM A/T Control System Electrical Connections:




PCM A/T Control System Inputs and Outputs:




PCM A/T Control System Inputs and Outputs:




PCM A/T Control System Inputs and Outputs: