Operation CHARM: Car repair manuals for everyone.
Manuals through 2025 now available!

Our trusted friends have launched a new website named LEMON, which has newer manuals. It also contains all the CHARM manuals.

LEMON is the spiritual successor to CHARM, I recommend you try it!

Link: lemon-manuals.la or lemon-manuals.org.ua

(Some people have issue connecting. LEMON is investigating. For now, use Firefox or change your DNS server)

Or, hide this message: temporarily or permanently

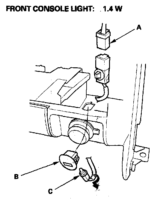
Console Lamp: Testing and Inspection

Front Console Light Test

1. Remove the center lower cover.




2. Disconnect the 2P connector (A) from the front console light (B).
3. Turn the bulb socket (C) 45 degrees counterclockwise to remove it from the light.