Operation CHARM: Car repair manuals for everyone.
Manuals through 2025 now available!

Our trusted friends have launched a new website named LEMON, which has newer manuals. It also contains all the CHARM manuals.

LEMON is the spiritual successor to CHARM, I recommend you try it!

Link: lemon-manuals.la or lemon-manuals.org.ua

(Some people have issue connecting. LEMON is investigating. For now, use Firefox or change your DNS server)

Or, hide this message: temporarily or permanently

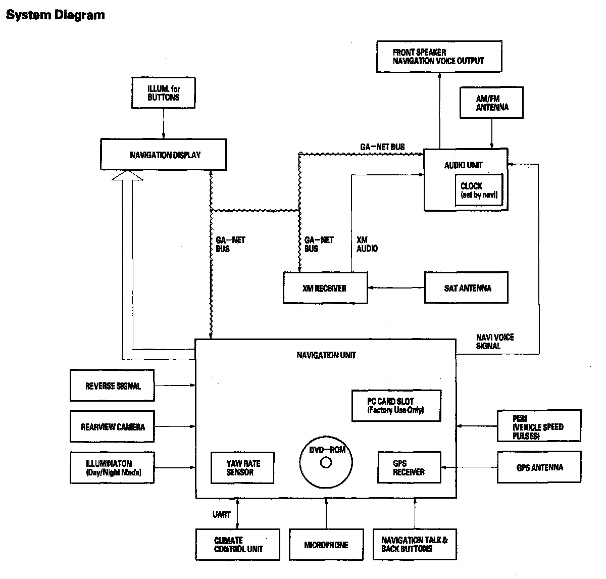
System Description: Overview

Overview

The navigation system is a highly sophisticated, hybrid locating system.

The navigation unit uses global positioning system (GPS) satellite signals, internal yaw and vehicle speed inputs, and a map database to show you where you are, and to help guide you to a desired destination.

The navigation unit's GPS receiver receives signals from the GPS, a network of 24 satellites in orbit around the earth. By receiving signals from several of these satellites, the navigation system can determine the latitude, longitude, and elevation of the vehicle.

Signals from the system's yaw rate sensor (inside the navigation unit) detects turns, and the PCM vehicle speed pulse (VSP) and reverse signal enable the system to keep track of the vehicle's speed and direction of travel. The advantage of this hybrid system is that the system can track your position if either the GPS signal or the vehicle speed signal is missing. For instance, when in a tunnel (no GPS), the speed signal is used to update your position on the map. Alternately, while the vehicle is being transported on a ferry, GPS signals can show the vehicle position on the map as it crosses the water.

The navigation system uses the location, direction, and speed information to display the appropriate map, and calculate a route to the destination entered. As you drive to a destination, the system provides both visual and audio guidance. Audio guidance is sent to the audio unit, and an RGB graphics color signal is sent to the navigation display.

This navigation system also has voice recognition that allows voice control of most of the navigation, audio, and climate control functions. The voice control switches (TALK and BACK buttons on the steering wheel) activate the voice control system. The microphone on the ceiling receives your voice commands. For more information on this feature, consult the navigation user's guide.

The illumination signal is used by the navigation unit to automatically switch the display mode between the "Night" and "Day" display modes. When the taillights/headlights are on, and the dash light dimmer control is set to "Full bright", the "Night" display mode is overridden. This allows a "Day" mode navigation display with the headlights ON.

When the navigation system is giving voice guidance commands, the front speakers are muted. When the voice control system is being used (TALK button pressed), all of the speakers are muted.

The GA-Net II bus passes information back and forth between the navigation display, the navigation unit, the climate control unit, and the audio system components. The information passed on this bus are touch button commands, audio muting signal, and audio (radio and XM), when commanded by voice control.

The rear view camera image is shown on the display when in reverse. Camera brightness is adjustable by touching the "Info" button while viewing the camera image.

The clock on the navigation display is set, and maintained by the navigation unit. The time is automatically adjusted for daylight savings, and time zone changes while driving. The time can be adjusted in setup.

Additional information is available about the navigation components following the System Diagram. A glossary of terms that are used, follows the detailed information.

The DART serial bus is used to communicate with the climate control unit. Voice commands to adjust climate feature such as, "Climate control full Automatic", are sent over this bus. In return, climate control status (such as the current fan speed) is sent to the navigation unit.




System Diagram