Operation CHARM: Car repair manuals for everyone.
Manuals through 2025 now available!

Our trusted friends have launched a new website named LEMON, which has newer manuals. It also contains all the CHARM manuals.

LEMON is the spiritual successor to CHARM, I recommend you try it!

Link: lemon-manuals.la or lemon-manuals.org.ua

(Some people have issue connecting. LEMON is investigating. For now, use Firefox or change your DNS server)

Or, hide this message: temporarily or permanently

Intake Manifold: Service and Repair

Intake Manifold Removal and Installation

Intake Manifold:





Removal





1. Remove the intake manifold cover.





2. Disconnect the breather pipe (A), then remove the intake air duct (B).





3. Remove the positive crankcase ventilation (PCV) hose (A), brake booster vacuum hose (B).





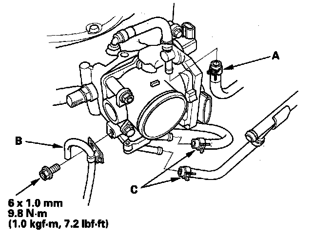
4. Remove the evaporative emission (EVAP) canister hose (A) and the transmission breather hose clamp bracket (B).
5. Remove and plug the water bypass hoses (C).
6. Remove the engine wire harness connectors and wire harness clamps from the intake manifold.
- Intake air temperature (IAT) sensor connector
- Throttle actuator connector
- Manifold absolute pressure (MAP) sensor connector
- Evaporative emission (EVAP) canister purge valve connector
- Intake manifold tuning (IMT) valve actuator connector (J35Z1 engine)





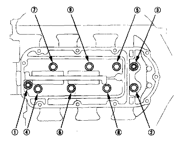
7. Remove the upper cover mounting bolts and nuts sequentially in two or three steps, then remove the upper cover.





8. Remove the intake manifold mounting bolts and nuts sequentially in two or three steps, then remove the intake manifold.
9. Remove the spacer (J35A9 engine).

Installation
1. Install the gaskets and spacer on the injector base (J35A9 engine).





2. Install the intake manifold. Tighten the bolts and nuts sequentially in two or three steps. Always use a new intake manifold gasket.





3. Install the upper cover. Tighten the bolts and nuts sequentially in two or three steps. Always use a new gasket.





4. Install the evaporative emission (EVAP) canister hose (A), transmission breather hose clamp bracket (B), and water bypass hoses (C).





5. Install the positive crankcase ventilation (PCV) hose (A) and brake booster vacuum hose (B).
6. Connect the engine wire harness connectors, and install the wire harness clamps to the intake manifold.
- Intake air temperature (IAT) sensor connector
- Throttle actuator connector
- Manifold absolute pressure (MAP) sensor connector
- Evaporative emission (EVAP) canister purge valve connector
- Intake manifold tuning (IMT) valve actuator connector (J35Z1 engine)





7. Install the intake air duct (A), then install the breather pipe (B).





8. Install the intake manifold cover.
9. Clean up any spilled engine coolant.
10. After installation, check that all tubes, hoses, and connectors are installed correctly.
11. Refill the radiator with engine coolant, and bleed air from the cooling system with heater valve open.