Operation CHARM: Car repair manuals for everyone.
Manuals through 2025 now available!

Our trusted friends have launched a new website named LEMON, which has newer manuals. It also contains all the CHARM manuals.

LEMON is the spiritual successor to CHARM, I recommend you try it!

Link: lemon-manuals.la or lemon-manuals.org.ua

(Some people have issue connecting. LEMON is investigating. For now, use Firefox or change your DNS server)

Or, hide this message: temporarily or permanently

Transfer Assembly Removal

Transfer Assembly Removal
1. Raise the vehicle, and make sure it is supported securely.
2. Shift the transmission into the N position.





3. Remove the drain plug (A), and drain the automatic transmission fluid (ATF).
4. Reinstall the drain plug with a new sealing washer (B). Tighten the drain plug to the specified torque.





5. Remove the front subframe stiffener.





6. Remove the exhaust pipe A and its mount (B).





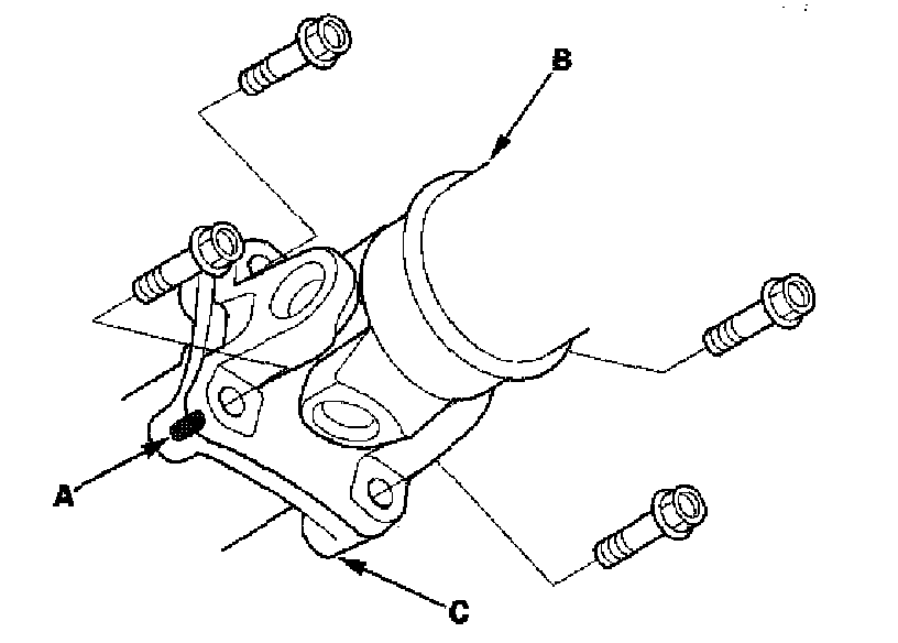
7. Remove the bolt securing the transfer breather hose bracket (A), and disconnect the breather hose (B) from the breather pipe (C) on the transfer assembly.





8. Make a reference mark (A) across the propeller, shaft (B) and the transfer companion flange (C).
9. Separate the propeller shaft from the transfer companion flange.





10. Remove the transfer assembly from the transmission.