Operation CHARM: Car repair manuals for everyone.
Manuals through 2025 now available!

Our trusted friends have launched a new website named LEMON, which has newer manuals. It also contains all the CHARM manuals.

LEMON is the spiritual successor to CHARM, I recommend you try it!

Link: lemon-manuals.la or lemon-manuals.org.ua

(Some people have issue connecting. LEMON is investigating. For now, use Firefox or change your DNS server)

Or, hide this message: temporarily or permanently

Procedures

Convertible Top Cloth Repair

1. The following tools and supplies are required to repair the top cloth.
- Repair cloth (P/N 86321-S2A-003)
- Adhesive
- Utility knife
- Ruler
- Sandpaper




2. Apply a piece of the repair cloth (A) to the inside surface of the top cloth at the damaged area. Cut through both the damaged cloth (B) and the repair cloth using a ruler (C) and a utility knife (D).




3. Cut a piece of repair cloth (A) so it overlaps the repair opening as shown.
4. Clean the repair cloth where adhesive will be applied.




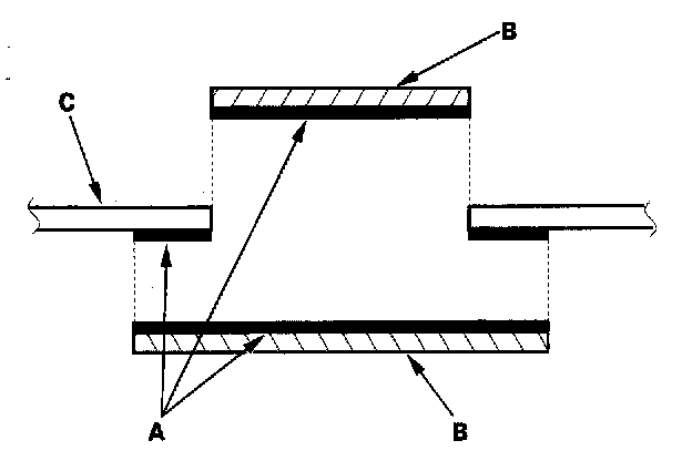
5. Apply the adhesive (A) to the repair cloth (B) and top cloth (C) as indicated by the arrows.




6. Push firmly on the repair cloth.
7. Scrape or wipe the excess adhesive off with a soft shop towel dampened with alcohol.
8. Let the adhesive dry. Follow the manufacturer's recommendations for drying time.
9. Check for water leaks.