Operation CHARM: Car repair manuals for everyone.
Manuals through 2025 now available!

Our trusted friends have launched a new website named LEMON, which has newer manuals. It also contains all the CHARM manuals.

LEMON is the spiritual successor to CHARM, I recommend you try it!

Link: lemon-manuals.la or lemon-manuals.org.ua

(Some people have issue connecting. LEMON is investigating. For now, use Firefox or change your DNS server)

Or, hide this message: temporarily or permanently

Intake Manifold: Service and Repair

Intake Manifold Removal and Installation

Intake Manifold:





Removal
1. Remove the ignition coil cover.
2. Remove the breather pipe, then remove the air intake duct.





3. Remove the positive crankcase ventilation (PCV) hose (A), brake booster vacuum hose (B), evaporative emission (EVAP) canister hose (C), and vacuum hose (D).





4. Remove the water bypass hoses (A), and plug them.
5. Remove these engine wire harness connectors and wire harness clamps from the intake manifold.
^ Intake air temperature (IAT) sensor connector
^ Throttle actuator connector
^ Manifold absolute pressure (MAP) sensor connector
^ Evaporative emission (EVAP) canister purge valve connector
^ Engine mount control solenoid valve connector
^ Intake manifold tuning (IMT) (Intake manifold runner control (IMRC) actuator connector (M/T)





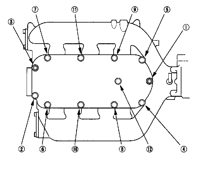
6. Remove the upper cover mounting bolts and nuts sequentially in two or three steps, then remove the upper cover.





7. Remove the intake manifold mounting bolts and nuts sequentially in two or three steps, then remove the intake manifold and spacer.
8. Remove the intake manifold.

Installation
1. Put a new gasket and the spacer on the injector base.





2. Install the intake manifold. Tighten the bolts and nuts sequentially in two or three steps. Always use a new intake manifold gasket.





3. Install the upper cover. Tighten the bolts and nuts sequentially in two or three steps. Always use a new gasket.





4. Install the water bypass hoses (A).
5. Connect the engine wire harness connectors, and install the wire harness clamps to the intake manifold.
^ Intake air temperature (IAT) sensor connector
^ Throttle actuator connector
^ Manifold absolute pressure (MAP) sensor connector
^ Evaporative emission (EVAP) canister purge valve connector
^ Engine mount control solenoid valve connector
^ Intake manifold tuning (IMT) (Intake manifold runner control (IMRC)) actuator connector (M/T)





6. Install the positive crankcase ventilation (PCV) hose (A), brake booster vacuum hose (B), evaporative emission (EVAP) canister hose (C), and vacuum hose (D).
7. Install the air intake duct, then install the breather pipe.
8. Clean up any spilled engine coolant.
9. After installation, check that all tubes, hoses, and connectors are installed correctly.
10. Install the ignition coil cover.
11. Refill the radiator with engine coolant, then bleed air from the cooling system with the heater valve open.